Operation CHARM: Car repair manuals for everyone.
Manuals through 2025 now available!

Our trusted friends have launched a new website named LEMON, which has newer manuals. It also contains all the CHARM manuals.

LEMON is the spiritual successor to CHARM, I recommend you try it!

Link: lemon-manuals.la or lemon-manuals.org.ua

(Some people have issue connecting. LEMON is investigating. For now, use Firefox or change your DNS server)

Or, hide this message: temporarily or permanently

Overhaul

Generator

DISASSEMBLY

1. Remove the four through bolts.






2. Use a drier to heat the rear cover (A) portion to 50 - 60�C (122 - 140�F).






3. Insert the flat tip screwdriver into the gap between stator core and front cover to disassemble.






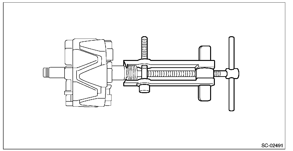
4. Using a vise, support the rotor and remove the pulley nut, then remove the rotor from the front cover.

CAUTION: When holding the rotor with a vise, place aluminum plates or wooden pieces on the vise jaws to prevent rotor from damage.









5. Use the following procedures to remove the ball bearings.
1. Remove the bolt, and then detach the bearing retainer.






2. Firmly attach an appropriate tool (such as a correct size socket wrench) to the bearing inner race.






3. Use the press to push the ball bearings out from the front cover.

6. Using the bearing puller, remove the bearings from the rotor.






7. Remove six bolts which connect the rectifier and stator coil, then remove the stator coil.






8. Remove four screws which secure the IC regulator to the rear cover, then remove the IC regulator.






9. Use the following procedures to remove the brush.
1. Remove the cover A.






2. Remove the cover B.






3. Disconnect the connection and remove the brush.






10. Remove the rectifier as follows.
1. Remove the cover on terminal B.






2. Remove the nut on terminal B.






3. Remove the bolts which secure the rectifier, and remove the rectifier.






ASSEMBLY

Assemble in the reverse order of disassembly.

NOTE:
- Refer to component for tightening torque of each part.
- After assembling, manually turn the pulley to check that the rotor rotates smoothly.

1. Assembling the rear cover and rectifier
Remove old silicone grease on the mating surface of rear cover and rectifier and apply new silicone grease.

CAUTION: Do not apply silicone grease to the attachment threads of rectifier.

2. Push of the brush
Before assembling the front and rear parts, press the brush down into the brush holder, then fix the brush in that position by inserting a [1 mm (0.0394 in) dia., 40 - 50 mm (1.5748 - 1.9685 in) long] wire through the hole as shown in the figure.

CAUTION: After assembling, remove the wire.






3. Install the ball bearings.
1. Set the ball bearings in the front cover, then securely install an appropriate tool (such as a socket wrench of proper size) to the bearing outer race.
2. Using a press to press the ball bearings into the specified location.
3. Install the bearing retainer.

4. Install the bearings.

CAUTION: Do not apply grease to the bearings. If there is any oil on the bearing box, remove it completely.

1. Use a press to install the bearings to the rotor shaft.
2. Heat the bearing box in rear cover at 50 to 60�C (122 to 140�F), and then press the bearing into rear cover.