Operation CHARM: Car repair manuals for everyone.
Manuals through 2025 now available!

Our trusted friends have launched a new website named LEMON, which has newer manuals. It also contains all the CHARM manuals.

LEMON is the spiritual successor to CHARM, I recommend you try it!

Link: lemon-manuals.la or lemon-manuals.org.ua

(Some people have issue connecting. LEMON is investigating. For now, use Firefox or change your DNS server)

Or, hide this message: temporarily or permanently

Alternator: Testing and Inspection

Generator

INSPECTION

1. DIODE

CAUTION: There is the possibility of damaging the diodes if a mega-tester (used to measure high voltages) or a similar measuring instrument is used. Never use a mega tester or equivalent for this test.

1. Check for continuity between the diode lead and terminal E or B. If continuity is not as shown in the table, replace the rectifier.

- At analog type tester






- At digital type tester






2. ROTOR
1. Slip ring surface
Inspect the slip rings for contamination or any roughness on the sliding surface. Repair the slip ring surface using a lathe or sand paper.
2. Slip ring outer diameter
Measure the slip ring outer diameter. Replace the rotor if the slip ring is worn.

Slip ring outer diameter:
Standard 22.7 mm (0.894 in)
Limit 22.1 mm (0.870 in)


3. Continuity test
Using a circuit tester, check the resistance between slip rings. If the resistance is not within the standard, replace the rotor.

Standard:
Approx. 2.0 - 2.4 ohms







4. Insulation test
Check the continuity between slip ring and rotor core or shaft. If there is continuity, replace the rotor because the rotor coil is grounded.






5. Bearing
Check the bearings. If there is any noise, or the rotor does not rotate smoothly, replace the bearings.

3. STATOR COIL

1. Continuity test
Inspect the continuity between the stator coil terminals. If continuity is not as shown in the table, replace the stator coil.









2. Insulation test
Inspect the continuity between the stator coil stator core and lead wire terminals. If there is continuity, replace the stator coil because the stator coil is grounded.






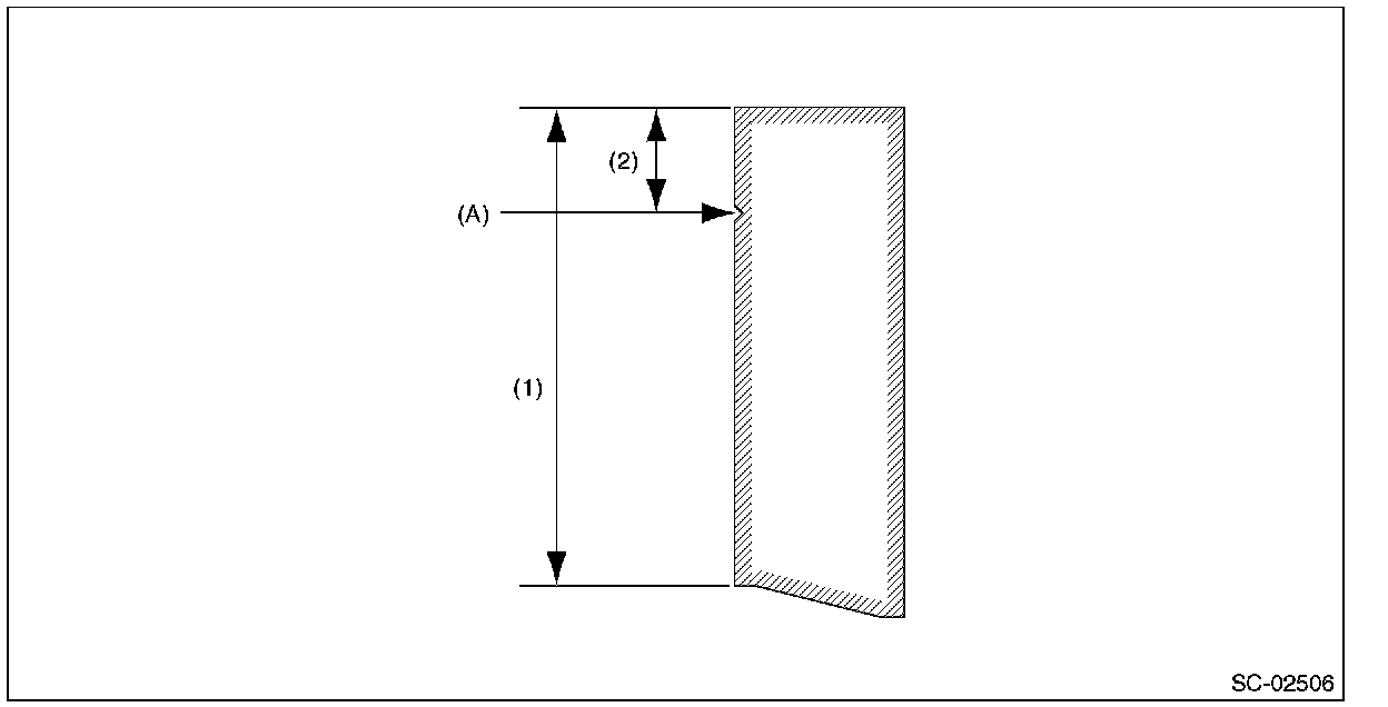
4. BRUSH
1. Measure the length of each brush. Replace the brush if wear exceeds service limits. There is a service limit mark (A) on each brush.

Brush length:
Standard (1) 18.5 mm (0.728 in)
Limit (2) 5.0 mm (0.197 in)







2. Check that there is appropriate pressure on the brush spring. Using a spring pressure indicator, push the brush into the brush holder until its tip protrudes 2 mm (0.0787 in). Then measure the pressure of brush spring. If the pressure is 1.7 N (173 gf, 6.11 ozf) or less, replace the brush spring. 4.1 - 5.3 N (418 - 540 gf, 14.75 - 19.06 ozf) pressure is required on the new spring.






5. BALL BEARING
Check the ball bearings. Replace the ball bearings if there is resistance in the rotation, or if there is any abnormal noise.