Operation CHARM: Car repair manuals for everyone.
Manuals through 2025 now available!

Our trusted friends have launched a new website named LEMON, which has newer manuals. It also contains all the CHARM manuals.

LEMON is the spiritual successor to CHARM, I recommend you try it!

Link: lemon-manuals.la or lemon-manuals.org.ua

(Some people have issue connecting. LEMON is investigating. For now, use Firefox or change your DNS server)

Or, hide this message: temporarily or permanently

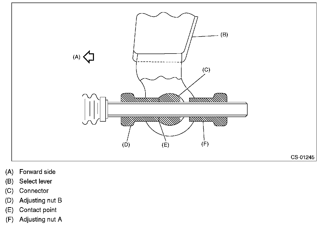
Continuously Variable Transmission/Transaxle: Adjustments

ADJUSTMENT

1) Shift the select lever to "N" range.
2) Lift up the vehicle.
3) Remove the rear exhaust pipe.
4) Remove the center exhaust cover.





5) Loosen the adjusting nuts on both sides.





6) Turn adjusting nut B until it lightly touches the connector.





7) Set a spanner wrench to adjusting nut B so that it does not rotate, and then tighten the adjusting nut A.

Tightening torque:
7.5 Nm (0.76 kgf-m, 5.5 ft-lb)





8) After the completion of adjustment, confirm that the select lever operates normally at all ranges.
9) Install in the reverse order of removal.