Operation CHARM: Car repair manuals for everyone.
Manuals through 2025 now available!

Our trusted friends have launched a new website named LEMON, which has newer manuals. It also contains all the CHARM manuals.

LEMON is the spiritual successor to CHARM, I recommend you try it!

Link: lemon-manuals.la or lemon-manuals.org.ua

(Some people have issue connecting. LEMON is investigating. For now, use Firefox or change your DNS server)

Or, hide this message: temporarily or permanently

Air Injection Control Valve: Testing and Inspection

Secondary Air Combination Valve

INSPECTION

SECONDARY AIR COMBINATION VALVE LH

1. Check that the secondary air combination valve LH has no deformation, cracks or other damages.
2. Check the resistance between the terminals of secondary air combination valve LH.






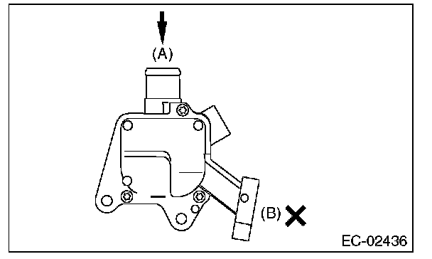
3. Check that air does not come out from (B) when air is blown into (A).






4. Connect the battery positive terminal to the terminal No. 2 and the battery negative terminal to the terminal No. 1. Check that air is discharged from (B), when supplying air to (A).






SECONDARY AIR COMBINATION VALVE RH

1. Check that the secondary air combination valve RH has no deformation, cracks or other damages.
2. Check the resistance between the terminals of secondary air combination valve RH.






3. Check that air does not come out from (B) when air is blown into (A).






4. Connect the battery positive terminal to the terminal No. 6 and the battery negative terminal to the terminal No. 4. Check that air is discharged from (B), when supplying air to (A).






OTHER INSPECTIONS

1. Check that the secondary air pipe has no deformation, cracks or other damages.
2. Check that the air duct has no cracks, damage or loose part.