Operation CHARM: Car repair manuals for everyone.
Manuals through 2025 now available!

Our trusted friends have launched a new website named LEMON, which has newer manuals. It also contains all the CHARM manuals.

LEMON is the spiritual successor to CHARM, I recommend you try it!

Link: lemon-manuals.la or lemon-manuals.org.ua

(Some people have issue connecting. LEMON is investigating. For now, use Firefox or change your DNS server)

Or, hide this message: temporarily or permanently

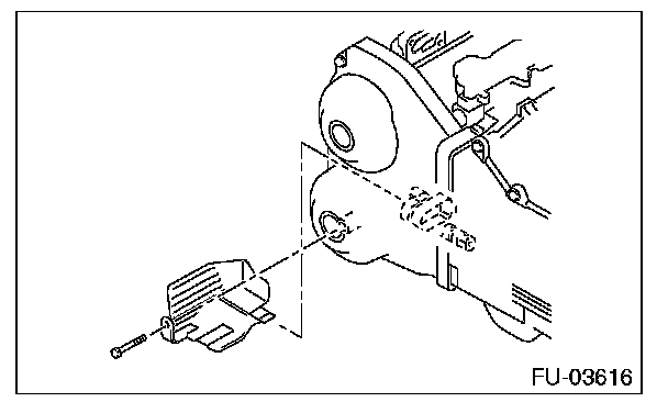
Camshaft Position Sensor: Service and Repair

Camshaft Position Sensor

REMOVAL

INTAKE SIDE

- Camshaft position sensor RH

1. Disconnect the ground cable from battery.






2. Disconnect the connector (A) from the camshaft position sensor RH, and remove the camshaft position sensor RH from the rear side of the cylinder head.






- Camshaft position sensor LH

1. Disconnect the ground cable from battery.






2. Remove the intake manifold.
3. Remove the camshaft position sensor LH.






EXHAUST SIDE

1. Disconnect the ground cable from battery.






2. Lift up the vehicle.
3. Remove the under cover.
4. Remove the engine harness cover. (right side only.)






5. Disconnect connector (A) from the camshaft position sensor, and remove the camshaft position sensor from under the cylinder head.
- RH side






- LH side






INSTALLATION

INTAKE SIDE

Install in the reverse order of removal.

Tightening torque: 6.4 N.m (0.7 kgf-m, 4.7 ft-lb)

EXHAUST SIDE

Install in the reverse order of removal.

Tightening torque: 6.4 N.m (0.7 kgf-m, 4.7 ft-lb)

- RH side






- LH side






Tightening torque: 5 N.m (0.5 kgf-m, 3.7 ft-lb)