Manifold Pressure/Vacuum Sensor: Testing and Inspection
Manifold Absolute Pressure SensorINSPECTION
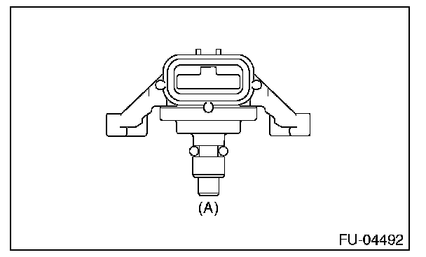
1. Check that the manifold absolute pressure sensor has no deformation, cracks or other damages.
2. Connect dry-cell battery positive terminal to terminal No. 3 and dry-cell battery ground terminal to terminal No. 2, circuit tester ground terminal to terminal No. 2 and the circuit tester positive terminal to terminal No. 1.
NOTE:
- Use new dry-cell batteries.
- Using circuit tester, check the voltage of a single dry-cell battery is 1.6 V or more. And also check the voltage of three batteries in series is between 4.8 V and 5.2 V.
3. Connect the Mighty Vac to the pressure port (A) of manifold absolute pressure sensor.
4. Check the voltage when generating vacuum and positive pressure using Mighty Vac.
CAUTION: Do not apply vacuum of less than -88 kPa (-0.9 kgf/sq.cm, -12.8 psi). Doing so may damage the manifold absolute pressure sensor.
NOTE: When vacuum occurs at the pressure port of manifold absolute pressure sensor, the voltage will drop from the value as in step 3). When positive pressure occurs, on the other hand, the voltage will rise.