Operation CHARM: Car repair manuals for everyone.
Manuals through 2025 now available!

Our trusted friends have launched a new website named LEMON, which has newer manuals. It also contains all the CHARM manuals.

LEMON is the spiritual successor to CHARM, I recommend you try it!

Link: lemon-manuals.la or lemon-manuals.org.ua

(Some people have issue connecting. LEMON is investigating. For now, use Firefox or change your DNS server)

Or, hide this message: temporarily or permanently

Overhaul

Starter

DISASSEMBLY

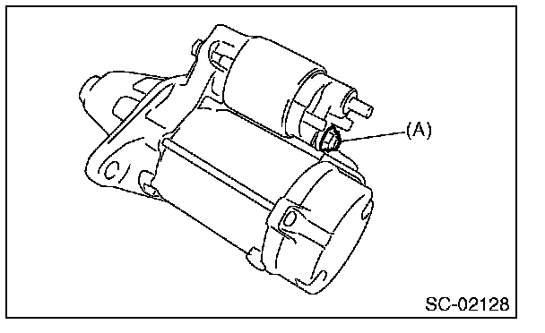
1. Remove the nut which holds terminal M (A) of the magnet switch assembly, then disconnect the harness from the terminal.






2. Remove the nuts fastening the magnet switch assembly to the starter housing, then remove the magnet switch assembly.






3. Remove the starter seal.






4. Remove the through bolts on both sides, and remove the starter housing.










5. Remove the shift lever.






6. Remove the overrunning clutch assembly from the yoke.






7. Remove the starter plate.






8. Remove the planetary gear (A) and washer (B) from internal gear.






9. Remove the screws, and remove the starter cover from the brush holder assembly.

NOTE: Separate the starter cover by pressing the brush holder assembly using the screws so that the assembly stays onto the armature side.










10. Remove the brush holder assembly from the armature.

NOTE: Spread the brush with your fingers, being careful not to damage the brush.






11. Remove the armature from the yoke.






ASSEMBLY

1. Install the armature to the yoke.






2. Install the brush holder assembly to the armature.

NOTE: Spread the brush with your fingers, being careful not to damage the brush.






3. Install the starter cover, and secure it to the brush holder assembly with the screws.






4. Assemble the planetary gear (A) and washer (B) to the internal gear.
1. Apply grease to the planetary gear installation position.

Grease: DENSO HL50

2. Install the planetary gear to the pin.
3. Apply grease to the planetary gear, internal gear, washer, and upper part of the pin.

NOTE:
- Apply grease so that it contacts each gear.
- Be careful not to allow dirt to get in.

Grease: DENSO HL50






4. Install the starter plate.






5. Assemble the overrunning clutch assembly to the yoke.






6. Install the shift lever.

NOTE: Apply grease to the contact portion of the shift lever.

Grease: DENSO HL50






7. Install the starter housing, and tighten through bolts on both sides.

Tightening torque: 6 N.m (0.6 kgf-m, 4.4 ft-lb)










8. Install the starter seal.






9. Install the magnet switch assembly to the starter housing, and tighten the nuts.

NOTE: Apply grease to the shift lever installation position.

Grease: DENSO HL50

Tightening torque: 7.5 N.m (0.8 kgf-m, 5.5 ft-lb)






10. Install the harness to the terminal M (A) of the magnet switch assembly, and tighten the nut.

Tightening torque: 10 N.m (1.0 kgf-m, 7.4 ft-lb)