Operation CHARM: Car repair manuals for everyone.
Manuals through 2025 now available!

Our trusted friends have launched a new website named LEMON, which has newer manuals. It also contains all the CHARM manuals.

LEMON is the spiritual successor to CHARM, I recommend you try it!

Link: lemon-manuals.la or lemon-manuals.org.ua

(Some people have issue connecting. LEMON is investigating. For now, use Firefox or change your DNS server)

Or, hide this message: temporarily or permanently

Replacement

Rear Differential Mount Bushing

REPLACEMENT

CAUTION:
^ If there was so much rust in the rear differential mount bushing, remove the rust before starting work.
^ Apply the molybdenum grease on the square thread of the ST (shaft and nut) before use.


1) Remove the rear differential.
2) Fit the ST to the periphery of the sub frame cylinder, and make sure that the ST does not contact with welded spots or spatters.
ST 41399FG010 SPECIAL TOOL A





3) If the ST contacts with welded spots or spatters, remove the excessive welds or spatters with sander or the equivalent so that the ST contacts the cylinder peripheral part.

CAUTION:
Performing the operation with the ST contacting with welded spots or spatters may break the ST. Be sure to remove excessive welds or spatters before the operation.

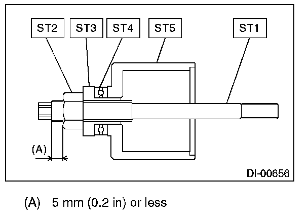
4) Set ST1, ST2, ST3, ST4 and ST5 as shown in the figure.
ST1 41399FG091 SPECIAL TOOL SHAFT
ST2 41399FG070 SPECIAL TOOL NUT
ST3 41399FG050 SPECIAL TOOL SLEEVE
ST4 41399FG080 SPECIAL TOOL BEARING
ST5 41399FG010 SPECIAL TOOL A





5) Fit and hold the ST1 and ST2 to the rear differential mount bushing from the rear side of vehicle.
ST1 41399FG031 SPECIAL TOOL C
ST2 41399FG061 SPECIAL TOOL RING





6) Insert the ST set in the step 4) through the rear differential mount bushing hole from the front side of vehicle, and screw in the ST1 by hand till the front end of ST1 comes out slightly from the rear end of ST2.
ST1 41399FG091 SPECIAL TOOL SHAFT
ST2 41399FG061 SPECIAL TOOL RING





7) Hold the ST1 to prevent it from rotating, and screw in the ST3 by hand till there is no loose fit on the ST2.

CAUTION:
When setting the ST to the vehicle, always make sure that the ST2 fits the periphery of the sub frame cylinder and is not tilted.

ST1 41399FG091 SPECIAL TOOL SHAFT
ST2 41399FG010 SPECIAL TOOL A
ST3 41399FG070 SPECIAL TOOL NUT





8) Hold the ST1 with a tool to prevent it from rotating, and screw in the ST2 to remove the rear differential mount bushing.

CAUTION:
^ Rotation of ST1 will damage the screw at the rear end of rear differential mount bushing. Never rotate the ST1.
^ If the ST starts to tilt while removing the rear differential mount bushing, stop the work and set the ST again.


ST1 41399FG091 SPECIAL TOOL SHAFT
ST2 41399FG070 SPECIAL TOOL NUT





9) Set ST1, ST2, ST3, ST4, ST5 and rear differential mount bushing as shown in the figure.

NOTE:
^ Set the ST2 nut near to the end of ST1 screw.
^ Hold the rear differential mount bushing with the marked side facing toward the rear of the vehicle, and set the rear differential mount bushing to the ST so that the arrow mark faces upward.
^ Mark the bottom end of rear differential mount bushing to identify the installing direction.

ST1 41399FG091 SPECIAL TOOL SHAFT
ST2 41399FG070 SPECIAL TOOL NUT
ST3 41399FG050 SPECIAL TOOL SLEEVE
ST4 41399FG080 SPECIAL TOOL BEARING
ST5 41399FG020 SPECIAL TOOL B





10) Attach ST1 to the ST2, and fit and hold the STs as a unit to the sub frame from the rear side of vehicle.
ST1 41399FG061 SPECIAL TOOL RING
ST2 41399FG041 SPECIAL TOOL D





11) Insert the ST and rear differential mount bushing set in the step 9) through the sub frame from the front side of vehicle, and screw in the ST1 by hand till the front end of ST1 comes out slightly from the rear end of ST2.

CAUTION:
Set the rear differential mount bushing with its mark facing the bottom end direction.

ST1 41399FG091 SPECIAL TOOL SHAFT
ST2 41399FG061 SPECIAL TOOL RING





12) Hold the ST1 to prevent it from rotating, and screw in the ST2 by hand till there is no loose fit on the ST and the rear differential mount bushing.

CAUTION:
Make sure that the ST and rear differential mount bushing are not tilted.

ST1 41399FG091 SPECIAL TOOL SHAFT
ST2 41399FG070 SPECIAL TOOL NUT





13) Screw in the ST2 while holding the ST1 with a tool to prevent it from rotating, and press-fit the rear differential mount bushing to the front end of sub frame cylinder.
ST1 41399FG091 SPECIAL TOOL SHAFT
ST2 41399FG070 SPECIAL TOOL NUT





14) Make sure that the rear differential mount bushing is inserted to the front end of sub frame cylinder.





15) Install the rear differential.