Operation CHARM: Car repair manuals for everyone.
Manuals through 2025 now available!

Our trusted friends have launched a new website named LEMON, which has newer manuals. It also contains all the CHARM manuals.

LEMON is the spiritual successor to CHARM, I recommend you try it!

Link: lemon-manuals.la or lemon-manuals.org.ua

(Some people have issue connecting. LEMON is investigating. For now, use Firefox or change your DNS server)

Or, hide this message: temporarily or permanently

Chain Cover



REMOVAL

1) Lift up the vehicle.
2) Remove the under cover.
3) Drain the engine oil.
4) Drain engine coolant.
5) Lower the vehicle.
6) Change the bolt mounting position from (A) to (B), then completely open the front hood.

Tightening torque:
7.5 Nm (0.8 kgf-m, 5.5 ft-lb)





7) Remove the air intake duct.
8) Remove the V-belts.
9) Remove the crank pulley.
10) Remove the front upper cover.





11) Remove the reservoir tank.
12) Remove the radiator main fan & fan motor and radiator sub fan & fan motor.
13) Remove the radiator.
14) Remove the oil cooler pipe from the chain cover.





15) Remove the chain cover.

NOTE:
Chain cover installation bolt has three different sizes. To prevent the confusion in installation, keep these bolts on container individually.





INSTALLATION

1) Apply liquid gasket to the mating surfaces of the cylinder block, cylinder head and oil pan upper as shown in the figure.

Liquid gasket:
THREE BOND 1217G (Part No. K0877Y0100) or equivalent





2) Apply liquid gasket to the mating surface of the chain cover.

NOTE:
Install within 5 min. after applying liquid gasket.

Liquid gasket:
THREE BOND 1217G (Part No. K0877Y0100) or equivalent

Liquid gasket applying diameter:
3.5±0.5 mm (0.138±0.020 in)





3) Install the chain cover and temporarily tighten the bolts.

CAUTION:
Do not install the bolts in wrong place.





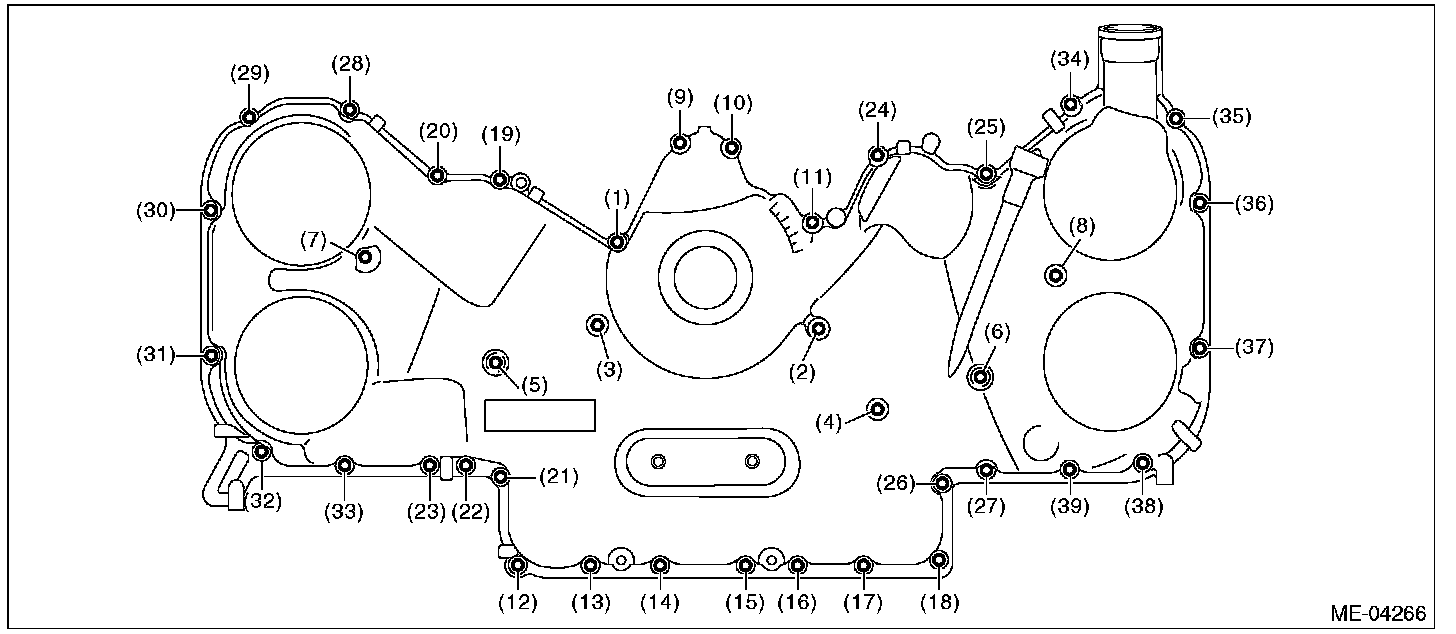
4) Tighten the bolts in the numerical order as shown in the figure.

Tightening torque:
10 Nm (1.0 kgf-m, 7.4 ft-lb)





5) Install the oil cooler pipe to the chain cover.

Tightening torque:
6.4 Nm (0.7 kgf-m, 4.7 ft-lb)





6) Install the radiator.
7) Install the radiator main & fan motor and radiator sub fan & fan motor.
8) Install the reservoir tank.
9) Install the front upper cover.





10) Install the crank pulley.
11) Install the V-belts.
12) Install the air intake duct.
13) Fill engine coolant.
14) Fill engine oil.
15) Make sure there is no oil leaks in the chain cover mating surface.
16) Install the under cover.
17) Install the collector cover.
18) Change the bolt mounting position from (B) to (A), and completely close the front hood.

Tightening torque:
7.5 Nm (0.8 kgf-m, 5.5 ft-lb)





INSPECTION

1) Check the chain cover surface for scratches or dents.
2) Check for oil leakage on the chain cover mating surface and installation part of crank pulley.
If there is an oil leak from the oil seal, perform replacement with a new oil seal.
ST 499585700 OIL SEAL GUIDE

Oil seal press-fit position:
Chain cover end face - Position of -1 mm (-0.039 in) from the chain cover end face