Operation CHARM: Car repair manuals for everyone.
Manuals through 2025 now available!

Our trusted friends have launched a new website named LEMON, which has newer manuals. It also contains all the CHARM manuals.

LEMON is the spiritual successor to CHARM, I recommend you try it!

Link: lemon-manuals.la or lemon-manuals.org.ua

(Some people have issue connecting. LEMON is investigating. For now, use Firefox or change your DNS server)

Or, hide this message: temporarily or permanently

Assembly

Rear Differential (VA-Type)

ASSEMBLY

NOTE:
^ Assemble in the reverse order of disassembly.
^ Check and adjust each part during assembly.
^ Use new gaskets and O-rings.
^ Keep the shims and washers in order, so that they are not improperly installed.
^ Thoroughly clean the surfaces on which the shims, washers and bearings are to be installed.
^ Apply gear oil when installing the bearings and thrust washers.
^ Be careful not to mix up the RH and LH bearing races.
^ Replace the oil seal and O-ring with a new part at every disassembly.
^ Apply differential gear oil to the lips when installing the oil seal.
^ Be careful not to mix up the differential oil seal RH and LH.





1) Adjusting preload for front and rear bearings.

NOTE:
Adjust the bearing preload between front and rear bearings with spacer and washer. Pinion height adjusting washer is not affected by this adjustment. The adjustment must not be carried out with oil seal inserted.

(1) Install the rear bearing race into the differential carrier using ST1 and ST2.
ST1 398477701 HANDLE
ST2 398477703 DRIFT 2





(2) Using the ST, install the front bearing race to the differential carrier.
ST 499277200 INSTALLER





(3) Insert the front bearing cone.

NOTE:
Use new front bearing cone.

(4) Measure and record the thickness of pinion adjust washer.

NOTE:
If tooth contact (drive pinion, hypoid driven gear) is normal in the inspection before disassembling, verify that the washer is not deformed, and then re-use the used washer.

(5) Insert the ST1 into carrier with the pinion height adjusting washer and rear bearing cone fitted onto it.

NOTE:
Use new rear bearing cone.

(6) Install the preload adjusting spacer & washer, front bearing cone, spacer, companion flange, and washer & self-locking nut.
ST1 18678AA000 DUMMY SHAFT





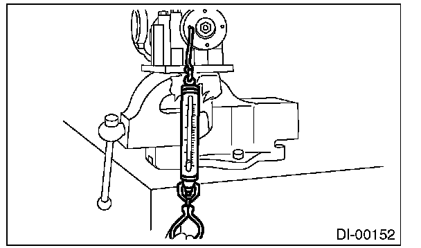
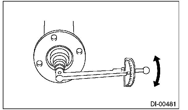
(7) Turn the ST1 by hand to smooth the bearing, and tighten the self-locking nut while measuring the initial load or initial torque with a spring scale or torque wrench. Select the preload adjusting washer and spacer so that the specified preload is obtained when nut is tightened to the specified torque.

NOTE:
^ Use a new self-locking nut.
^ Be careful not to give excessive preload.
^ When tightening the self-locking nut, lock companion flange with ST2 as shown in the figure.
^ Measure the preload in direction of tangent to the flange.

ST1 18678AA000 DUMMY SHAFT
ST2 498427200 FLANGE WRENCH

Tightening torque:
191 Nm (19.5 kgf-m, 140.9 ft-lb)





Initial load:
12.7 - 32.2 N (1.3 - 3.3 kgf, 2.9 - 7.2 lb)





Initial torque:
0.48 - 1.22 Nm (0.05 - 0.12 kgf-m, 0.35 - 0.90 ft-lb)











2) Adjusting drive pinion height:
Adjust the drive pinion height with washer installed between the rear bearing cone and the back of pinion gear.
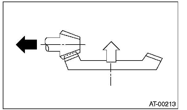
(1) Attach the ST2.
ST1 18678AA000 DUMMY SHAFT
ST2 18831AA010 DIFFERENTIAL CARRIER GAUGE





(2) Install the side retainer LH to the left side of the differential carrier in reverse direction.





(3) Measure the clearance "N" between the end of ST2 and the end surface of ST1 by using a thickness gauge.

NOTE:
Make sure there is no clearance between the case and ST2.

ST1 18678AA000 DUMMY SHAFT
ST2 18831AA010 DIFFERENTIAL CARRIER GAUGE





(4) Obtain the thickness of pinion height adjusting washer to be inserted from the following formula, and replace the temporarily installed washer with this one.

NOTE:
Adjust it using the 0 - 3 washers.
T = To + N - 0.05 mm (0.0020 in)





(Example of calculation)
To = 0.15 mm (0.0059 in)
N = 0.1 mm (0.0039 in)
T = 0.15 mm (0.0059 in) + 0.1 mm (0.0039 in) - 0.05 mm (0.0020 in) = 0.2 mm (0.0079 in)
Result: Thickness = 0.2 mm (0.0079 in)
Therefore use part number 32295AA370.





3) Install the selected pinion height adjusting washer on drive pinion, and press the rear bearing cone into position with ST.
ST 398177700 INSTALLER





4) Insert the drive pinion into the differential carrier, and install the preselected bearing preload adjusting spacer and washer.





5) Set ST and differential carrier to the press and install the front bearing cone.
ST 399780104 WEIGHT





NOTE:
Set the carrier to the press until the companion flange is installed.

6) Insert the spacer, then install the pilot bearing.





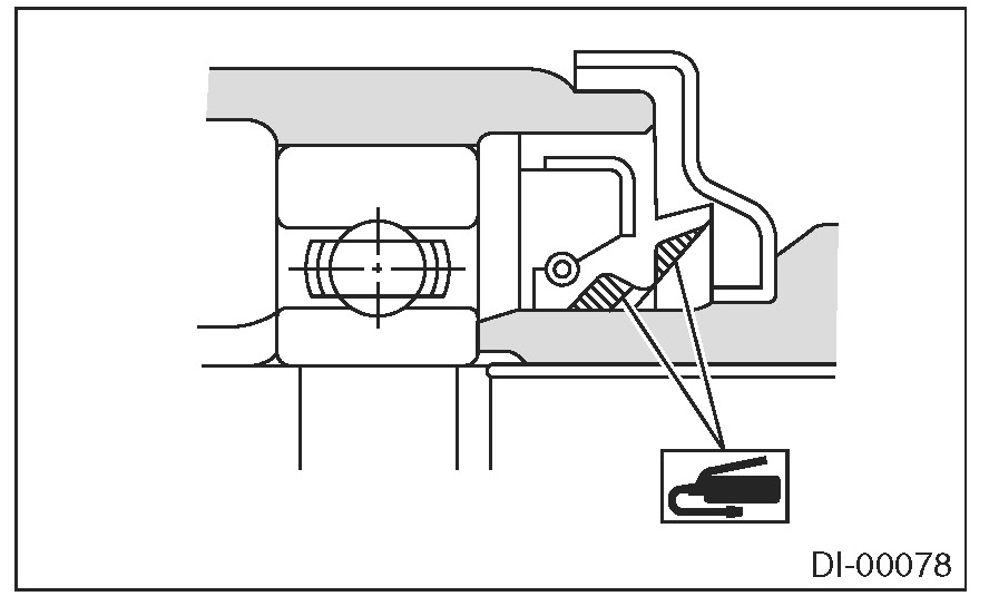
7) Fit a new oil seal with ST.

NOTE:
^ Press-fit until the oil seal end comes 1 mm (0.04 in) inward from end of carrier.
^ Apply differential gear oil to the oil seal lips.

ST 499277200 INSTALLER





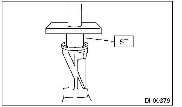
8) Press-fit the companion flange with ST.

NOTE:
Be careful not to damage the bearing.

ST 899874100 INSTALLER





9) Apply seal material to the drive pinion shaft screw threads and on the new self-locking nut seat.

Seal material:
THREE BOND 1324 (Part No. 004403042) or equivalent

10) Attach the nut and use the ST to fix the companion flange in place, then tighten.
ST 498427200 FLANGE WRENCH

Tightening torque:
191 Nm (19.5 kgf-m, 140.9 ft-lb)





11) Measure the initial torque and initial load.

Initial load:
12.7 - 32.2 N (1.3 - 3.3 kgf, 2.9 - 7.2 lb)





Initial torque:
0.48 - 1.22 Nm (0.05 - 0.12 kgf-m, 0.35 - 0.90 ft-lb)





12) Assembling differential case
(1) Attach the circlip to the side gear.





(2) Install the side gears and pinion mate gears, with their thrust washers and pinion mate shaft, into the differential case.

NOTE:
^ Apply gear oil on both sides of the washer and on the side gear shaft before installing.
^ Install the pinion mate shaft to the differential case by aligning the spring pin holes.





(3) Measure the side gear backlash.

Side gear backlash:
0.13 - 0.18 mm (0.005 - 0.007 in)





(4) Adjust the side gear backlash by selecting side gear thrust washer.





(5) Check the condition of rotation after applying oil to the gear tooth surfaces and thrust washer surfaces.
(6) Attach the spring pin to the differential case.

NOTE:
Use new spring pin.

13) Install the hypoid driven gear to differential case.

NOTE:
^ Set a cushioning such as wooden block, aluminum plate or shop cloth between vise and differential case if the side gear comes into contact with vise.
^ Before installing bolts, apply seal material to bolt threads.

Seal material:
THREE BOND 1324 (Part No. 004403042) or equivalent

^ Tighten opposing bolts in order.
(1) Tighten the hypoid driven gear mounting bolts to the specified torque using the ST.
ST 18270KA020 SOCKET (E20)

Tightening torque:
20 Nm (2.0 kgf-m, 14.8 ft-lb)





(2) While checking the tightening angle with the ST, further tighten the hypoid driven gear mounting bolts.

Tightening angle:
33°±2°

ST 18554AA000 ANGLE GAUGE





14) Press the side bearing into differential case using ST.
ST 398487700 DRIFT





15) Assemble the side retainer.
(1) Install the new oil seal into side retainer RH and LH.

CAUTION:
Make sure that the oil seals and side retainers are properly assembled.

ST 498447100 INSTALLER





(2) Install the bearing race into side retainer RH and LH.
ST 398417700 DRIFT

CAUTION:
Make sure that the bearing outer races and cones are properly assembled.





(3) Install the differential assembly into differential carrier in the reverse order of disassembly.

NOTE:
Be careful not to hit the teeth of hypoid driven gear against the case.





(4) Temporally tighten the side retainers RH and LH in differential carrier to install.
16) Perform the backlash adjustment between the hypoid driven gear and drive pinion, and preload adjustment of differential side bearing.
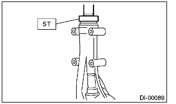
(1) Turn the drive pinion with ST for better fitting of differential side bearing.
ST 498427200 FLANGE WRENCH





(2) Using the ST, tighten the side retainer RH, and then tighten the side retainer LH until there is no backlash.
ST 18630AA010 WRENCH COMPL RETAINER





(3) Loosen the side retainer LH by approx. 1 and 1/2 teeth, and tighten the side retainer RH by approx. 2 teeth [amount that the side retainer LH is turned back (1 and 1/2) + approx. 0.5 teeth]. Difference between [amount that the side retainer LH is turned back (approx. 1 and 1/2 teeth)] and [amount that the side retainer RH is tightened (approx. 2 teeth)] gives preload.
(4) Temporarily tighten the lock plate.

NOTE:
Turn over the lock plate to shift the holder by 1/2 tooth.





(5) Measure the hypoid driven gear-to-drive pinion backlash. Set the magnet base on differential carrier. Align the contact point of dial gauge with tooth face of hypoid driven gear, and move hypoid driven gear while holding drive pinion still. Read the value indicated on dial gauge.

NOTE:
If measured value of backlash is not within the specified range, repeat the procedures for pinion driven gear set backlash adjustment and the differential side bearing preload adjustment.

Backlash:
0.10 - 0.15 mm (0.004 - 0.006 in)





17) Put alignment marks on both the differential carrier and side retainer. Remove the side retainer side at a time.
Replace them in the original position after inserting an O-ring and applying differential gear oil to the threaded portion.





18) Tighten the bolt of lock plate to specified torque.

Tightening torque:
25 Nm (2.5 kgf-m, 18.4 ft-lb)





19) Recheck the hypoid driven gear to pinion backlash.

Backlash:
0.10 - 0.15 mm (0.004 - 0.006 in)





20) Checking and adjusting the tooth contact of hypoid driven gear
(1) Apply lead-free red dye evenly on the both sides of three to four teeth of the hypoid driven gear. Check the contact pattern after rotating the hypoid driven gear several revolutions back and forth until a definite contact pattern appears on the hypoid driven gear.
(2) When the contact pattern is not correct, readjust.

NOTE:
Be sure to wipe off the lead-free red dye completely after the adjustment is completed.

^ Correct tooth contact
Check item: Tooth contact pattern is slightly shifted toward toe side under no-load rotation. (When driving, it moves towards the heel side.)





^ Face contact
Check item: Backlash is too large.
Contact pattern





Corrective action: Increase thickness of pinion height adjusting washer according to the procedure for bringing drive pinion close to hypoid driven gear side.





^ Flank contact
Check item: Backlash is too small.
Contact pattern





Corrective action: Reduce the thickness of pinion height adjusting washer according to the procedure for bringing drive pinion away from hypoid driven gear.





^ Toe contact (inside contact)
Check item: Teeth contact area is too small.
Contact pattern





Corrective action: Reduce the thickness of pinion height adjusting washer according to the procedure for bringing drive pinion away from hypoid driven gear.





^ Heel contact (outside end contact)
Check item: Teeth contact area is too small.
Contact pattern





Corrective action: Increase thickness of pinion height adjusting washer according to the procedure for bringing drive pinion close to hypoid driven gear side.





21) If correct tooth contact is not obtained, readjust the drive pinion height and the differential side bearing preload (already mentioned) and the hypoid gear backlash.
22) Install the new gasket, rear cover and ground stay to the differential carrier, and tighten the bolts to the specified torque.

Tightening torque:
34 Nm (3.5 kgf-m, 25.1 ft-lb)





23) Using new gaskets, install the rear differential oil temperature switch.

Tightening torque:
60 Nm (6.1 kgf-m, 44.3 ft-lb)

24) Affix with the attachment clip so that the white marking of the hose is within the range of Z (87°).





25) Install a new gasket and a new oil drain plug.

Tightening torque:
50 Nm (5.1 kgf-m, 36.9 ft-lb)

26) Install the filler plug.