Operation CHARM: Car repair manuals for everyone.
Manuals through 2025 now available!

Our trusted friends have launched a new website named LEMON, which has newer manuals. It also contains all the CHARM manuals.

LEMON is the spiritual successor to CHARM, I recommend you try it!

Link: lemon-manuals.la or lemon-manuals.org.ua

(Some people have issue connecting. LEMON is investigating. For now, use Firefox or change your DNS server)

Or, hide this message: temporarily or permanently

Inspection

Rear Differential (VA-Type)

INSPECTION

Wash all the disassembled parts clean, and examine them for wear, damage or other defects. Repair or replace the defective parts as necessary.
1) Hypoid driven gear and drive pinion
^ If there is evidently an abnormal tooth contact, find out the cause and adjust until the teeth contact correctly. Replace the gear if there is an excessive worn or an incapable adjustment.
^ If crack, cutout or seizure is found, replace the parts as a set. Slight damage of some teeth can be corrected by oil stone or the like.
2) Side gear and pinion mate gear
^ Replace if cracks, scoring or other defects are evident on the tooth surface.
^ Replace if thrust washer contact surface is worn or seized. Slight damages of the surface can be corrected by oil stones or equivalent.
3) Thrust washer of side gear and pinion mate gear
Replace if seizure, cracking, abnormal wear or other defect is evident.
4) Bearing
Replace if seizure, peeling, wear, rust, dragging during rotation, noise or other defect is evident.
5) Oil seal
Replace if deformed or damaged, and at every disassembling.
6) Differential carrier
Replace if the bearing bores are worn or damaged.
7) Differential case
Replace if sliding surfaces are abnormally worn, seized or cracked.
8) Companion flange
Replace if the oil seal lip contact surface shows cracking.

SIDE GEAR BACKLASH

Using a dial gauge, check the backlash of side gear.

Side gear backlash:
0.13 - 0.18 mm (0.005 - 0.007 in)

If the side gear backlash is not within the specification, select the side gear thrust washer and adjust the side gear backlash as specified.





HYPOID DRIVEN GEAR BACKLASH

Using a dial gauge, check the backlash of hypoid driven gear.

Hypoid driven gear backlash:
0.10 - 0.15 mm (0.004 - 0.006 in)

If the hypoid driven gear backlash is not within the specification, adjust the side bearing preload or repair if necessary.





TOOTH CONTACT BETWEEN HYPOID DRIVEN GEAR AND DRIVE PINION

Inspect the tooth contact between the hypoid driven gear and the drive pinion. Disassembly

COMPANION FLANGE

1) If rust or dirt is attached to the companion flange, remove them.
2) Set a dial gauge at a companion flange surface (mating surface of propeller shaft and companion flange), and then measure the companion flange runout.

Limit of runout:
0.08 mm (0.003 in)





3) Set the gauge inside of the companion flange, and measure the runout.

Limit of runout:
0.08 mm (0.003 in)





4) If either runout exceeds the limit, move the phase of companion flange and drive pinion 90° each, and find the point where the runout will be within the limit.
5) If the runout exceeds the limit when changing the phase, replace the companion flange and recheck the runout.
6) If the runout exceeds the limit after replacing the companion flange, the drive pinion may be assembled incorrectly or bearing is faulty.

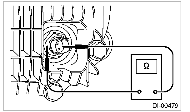
REAR DIFFERENTIAL OIL TEMPERATURE SWITCH

Inspect the continuity of the rear differential oil temperature switch.