Operation CHARM: Car repair manuals for everyone.
Manuals through 2025 now available!

Our trusted friends have launched a new website named LEMON, which has newer manuals. It also contains all the CHARM manuals.

LEMON is the spiritual successor to CHARM, I recommend you try it!

Link: lemon-manuals.la or lemon-manuals.org.ua

(Some people have issue connecting. LEMON is investigating. For now, use Firefox or change your DNS server)

Or, hide this message: temporarily or permanently

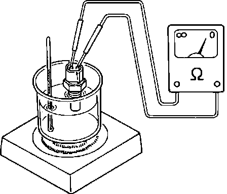
Engine Temperature Sensor: Testing and Inspection

Fig. 71 Checking WTS Resistance:





1. Remove WTS from vehicle.
2. Position sensing portion of WTS in water, Fig. 71.
3. Using a suitable ohmmeter, measure resistance between sensor terminals, Fig. 71, while heating water gradually. Refer to ``Sensor Specifications'' for resistance readings. If resistance readings are not as specified, replace sensor.