Operation CHARM: Car repair manuals for everyone.
Manuals through 2025 now available!

Our trusted friends have launched a new website named LEMON, which has newer manuals. It also contains all the CHARM manuals.

LEMON is the spiritual successor to CHARM, I recommend you try it!

Link: lemon-manuals.la or lemon-manuals.org.ua

(Some people have issue connecting. LEMON is investigating. For now, use Firefox or change your DNS server)

Or, hide this message: temporarily or permanently

Alternator: Service and Repair

UNIT REPAIR OVERHAUL





DISMOUNTING AND REMOUNTING
1) Disconnect negative cable at battery.
2) Disconnect "B" terminal wire and coupler from generator.
3) Remove generator drive belt adjusting bolt and loosen adjuster arm bolt.
4) Remove generator cover.
5) Remove generator mounting bolts and nut, and then remove generator.
6) To remount, reverse above procedure giving specified tension to drive belt.

Tightening Torque
(a): 18-28 N.m (1.8-2.8 kg-m, 13.5-20.0 lb-ft)
(b): 4-7 N.m (10.4-0.7 kg-m,3.0-5.0 lb-ft)
(c): 6-10 N.m (0.6-1.0 kg-m. 4.5-7.0 lb-ft)






DISASSEMBLY





1) For easier reinstallation, provide match marks on both front and rear housing as shown before separating them.





2) Remove housing bolts from generator.





3) Then with lever inserted between stator core and front housing, separate generator into front and rear sides.





4) Loosen pulley nut by using vise and take off pulley.

NOTE: When using vise,put clean cloth between rotor and vise so as not to cause damage to rotor.





5) Remove rotor from front housing.
6) When removing front bearing, remove bearing retainer screws and retainer.





7) When removing rear bearing, use oil hydraulic press.





8) Remove stator from rear housing by removing four screws and battery terminal nut.





9) To remove brush,remove wire cover from brush holder and then disconnect brush wire from regulator terminal by using soldering iron.

INSPECTION

ROTOR





1) Using ohmmeter, check for continuity between slip rings of rotor. If there is no continuity,replace rotor.

Standard reistance: 3.1-3.5 ohms





2) Using ohmmeter,check that there is no continuity between slip ring and rotor. If there is continuity, replace rotor.
3) Check slip rings for roughness or scoring. If rough or scored, replace rotor.

STATOR





1) Using ohmmeter, check all leads for continuity.
If there is no continuity, replace stator.





2) Using ohmmeter,check that there is no continuity between coil leads and stator core.If there is continuity,replace stator.





BRUSH AND BRUSH HOLDER
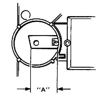
Check each brush for wear by measuring its length as shown.
If brush is found worn down to service limit,replace brush.

Brush length A
Standard: 16 mm (0.63 in.)
Limit : 2 mm (0.06 in.)






RECTIFIER
1) Using ohmmeter,check continuity between each of upper and lower rectifier bodies and each diode lead as shown.Check both directions by reversing probes of ohmmeter and there should be only one-way continuity in each case.If check result is not satisfactory, replace rectifier.
2) In the same manner as described in above step 1),check that there is only one-way continuity between both leads of diode trio.





CONDENSER
Check condenser capacity.

Condenser capacity: 0.5 MicroFarad

REASSEMBLY





Reassemble in reverse order of DISASSEMBLY, noting the following.
1) Be sure to check with figure A for proper installing direction of brush.
Also, when soldering brush wire, make sure to position brush as shown in figure B.





2) Tighten generator pulley nut to specified torque.

Tightening Torque
Pulley nut: 60-75 N-m (6.0-7.5 kg-m,43.5-54.0 lb-ft)


3) Push brushes into brush holder,then support brushes by inserting appropriate wire from hole of rear housing. Then with bearing box of rear housing heated up to 500 to 60°C (1220 to 140°F), install rotor to rear housing.

NOTE:
- After installing rotor,remove wire and install hole plug to rear housing.
- Check to make sure that match marks on front and rear housing are aligned.

4) After assembling generator,make sure that rotor turns smoothly.