Operation CHARM: Car repair manuals for everyone.
Manuals through 2025 now available!

Our trusted friends have launched a new website named LEMON, which has newer manuals. It also contains all the CHARM manuals.

LEMON is the spiritual successor to CHARM, I recommend you try it!

Link: lemon-manuals.la or lemon-manuals.org.ua

(Some people have issue connecting. LEMON is investigating. For now, use Firefox or change your DNS server)

Or, hide this message: temporarily or permanently

Ignition Timing: Testing and Inspection


IGNITION TIMING

NOTE:
- Ignition timing is not adjustable. If ignition timing is out of specification, check system related parts.
- Before starting engine, place transmission gear shift lever in "Neutral" (shift selector lever to "P" range for A/T model), and set parking brake.

INSPECTION





1) When using SUZUKI scan tool, connect SUZUKI scan tool to DLC with ignition switch OFF.
2) Start engine and warm it up to normal operating temperature.
3) Make sure that all of electrical loads except ignition are switched off.
4) Check to be sure that idle speed is within specification.
5) Fix ignition timing to initial one as follows:

When using SUZUKI scan tool:
(1) Select "MISC" mode on SUZUKI scan tool and fix ignition timing to initial one.

When not using SUZUKI scan tool:





(2) Disconnect scan tool from DLC, and connect test switch and ground terminals of monitor connector by using service wire so that ignition timing is fixed on initial one.

6) Detach air cleaner case (housing) and shift air cleaner case and hose position to observe ignition timing.
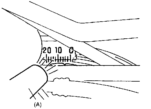
7) Using timing light, check that ignition timing is within specification.





Initial ignition timing (Test switch terminal grounded or fixed with SUZUKI scan tool) :5±3° BTDC at idle speed

Ignition order :1-3-4-2

Special Tool
(A): 09900-27301 or 09930-76420


8) If ignition timing is out of specification, check the followings:
- CKP sensor
- Crankshaft timing belt pulley (signal rotor)
- TP sensor
- Test switch signal circuit
- VSS
- Timing belt cover installation

9) After checking Initial Ignition Timing, release ignition timing fixation by using SUZUKI scan tool or disconnect service wire from monitor connector.
10) With engine idling (test switch terminal ungrounded, throttle opening at closed position and car stopped), check that ignition timing is about 12°-15° BTDC. (Constant variation within a few degrees from 12°-15° indicates no abnormality but proves operation of electronic timing control system.) Also, check that increasing engine speed advances ignition timing.
If above check results are not satisfactory, check CKP sensor, test switch terminal circuit and ECM (PCM).
11) Install air cleaner case.