Operation CHARM: Car repair manuals for everyone.
Manuals through 2025 now available!

Our trusted friends have launched a new website named LEMON, which has newer manuals. It also contains all the CHARM manuals.

LEMON is the spiritual successor to CHARM, I recommend you try it!

Link: lemon-manuals.la or lemon-manuals.org.ua

(Some people have issue connecting. LEMON is investigating. For now, use Firefox or change your DNS server)

Or, hide this message: temporarily or permanently

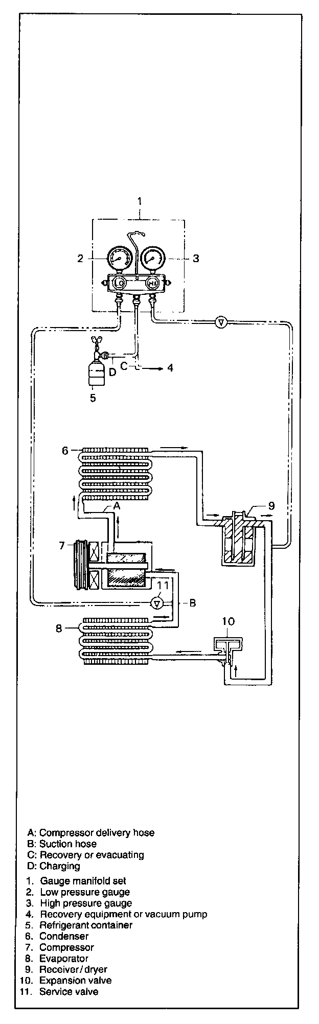
Evacuating System




1. Whenever opened (exposed to atmospheric air), air conditioning system must be evacuated by using a vacuum pump. The A/C system should be attached with a manifold gauge set, and should be evacuated for approx. 15 minutes.

NOTE: Do not evacuate before recovering refrigerant in system.

2. Connect high and low charging hoses of manifold gauge set respectively as follows:
High Charging Hose * Compressor Delivery Hose
Low Charging Hose * Compressor Suction Hose

3. Attach center charging hose of manifold gauge set to vacuum pump.
4. Operate vacuum pump, and then open suction-side valve (Lo) of manifold gauge set.
If there is no blockage in the system, there will be an indication on high pressure gauge.
When this occurs, open the other-side valve (Hi) of the set.
5. Approx. 10 minutes later, low pressure gauge should show a vacuum lower than 760 mmHg providing no leakage exists.

NOTE:
- If the system does not show a vacuum below 760 mm Hg, close both valves, stop vacuum pump and watch movement of low pressure gauge.
- Increase in the gauge reading suggests existence of leakage. In this case, repair the system before continuing its evacuation.
- lithe gauge shows a stable reading (suggesting no leakage), continue evacuation.

6. Evacuation should be carried out for a total of at least 15 minutes.
7. Continue evacuation until low pressure gauge indicates a vacuum less than 760 mmHg, and then close both valves.
8. Stop vacuum pump. Disconnect center charging hose from pump inlet. Now, the system is ready for charging refrigerant.