Operation CHARM: Car repair manuals for everyone.
Manuals through 2025 now available!

Our trusted friends have launched a new website named LEMON, which has newer manuals. It also contains all the CHARM manuals.

LEMON is the spiritual successor to CHARM, I recommend you try it!

Link: lemon-manuals.la or lemon-manuals.org.ua

(Some people have issue connecting. LEMON is investigating. For now, use Firefox or change your DNS server)

Or, hide this message: temporarily or permanently

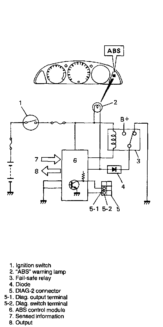
Electronic Brake Control Module: Description and Operation

ABS CONTROL MODULE





ABS control module is installed under the instrument panel at the driver's side.
Its main function is to control ABS hydraulic unit to prevent the wheel from getting locked when braking but it also has a self-diagnosis function and fail-safe function.

Hydraulic Unit Control (Wheel Speed Control)





ABS control module monitors the speed of each of 4 wheels, deceleration speed of each of 4 wheels and the vehicle deceleration speed through signals from 4 wheel speed sensors and outputs control signal to each solenoid valve of the hydraulic unit to prevent it from getting locked. Also, it operates the pump motor all the time while the anti-lock control function is working.

Self-Diagnosis Function
ABS control module diagnoses conditions of the system component parts (whether or not there is any abnormality) all the time and indicates the results (warning of abnormality occurrence and DTC) through the "ABS" warning lamp and outputs it through the Diag. output terminal as described below.
1. When ignition switch is turned ON. "ABS" warning lamp lights for 2 seconds to check its bulb and circuit.
2. When no abnormality has been detected (the system is in good condition), "ABS" warning lamp turns OFF after 2 seconds.
3. When the vehicle starts to move after the ignition switch is turned ON (more than one wheel speed sensor signals are input), solenoid valves and motors of ABS hydraulic unit operate once one after another for electrical check.
During this check, motor operation sound may be heard but that means nothing abnormal.





4. When an abnormality in the system is detected, "ABS" warning lamp lights and the area where that abnormality lies is stored in the memory of EEPROM in ABS control module.





5. When Diag. switch terminal of DIAG-2 connector (monitor connector) is grounded, the abnormal area is output as DTC from Diag. output terminal. When DTC output is normal DTC 12 or history DTC only, it is also indicated by flashing of "ABS" warning lamp. (Refer to the table.)
Shorting Diag. switch terminal and the diag. output terminal and then turning ignition switch ON for 10 seconds or longer, all DTC's stored in the memory of ABS control module will be cleared.

Fall-Safe Function
When an abnormality occurs (an abnormal DTC is detected), ABS control module turns OFF the fail-safe relay which supplies power to ABS hydraulic unit. Thus, with ABS not operating, brakes function just like the brake system of the vehicle not equipped with ABS.