Operation CHARM: Car repair manuals for everyone.
Manuals through 2025 now available!

Our trusted friends have launched a new website named LEMON, which has newer manuals. It also contains all the CHARM manuals.

LEMON is the spiritual successor to CHARM, I recommend you try it!

Link: lemon-manuals.la or lemon-manuals.org.ua

(Some people have issue connecting. LEMON is investigating. For now, use Firefox or change your DNS server)

Or, hide this message: temporarily or permanently

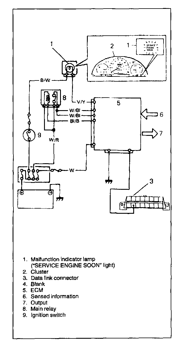
On-Board Diagnostic System




On-board diagnostic system (Self-diagnostic function)
ECM (PCM) performs on-board diagnosis on the system and parts that influence the vehicle emission in compliance with OBD-II regulation.

Refer to "Engine Diagnosis".
ECM (PCM) and malfunction indicator lamp ("SERVICE ENGINE SOON" light) operate as follows.
- Malfunction indicator lamp lights when the ignition switch is turned ON (but the engine at stop) regardless of the condition of Engine & emission control system (Electronic Fuel injection system). This is only to check the malfunction indicator lamp bulb and its circuit.
- If the system and parts that influence the vehicle emission is free from any malfunction after the engine start (while engine is running), malfunction indicator lamp turns OFF.
- When ECM (PCM) detects a malfunction, it makes malfunction indicator lamp turn ON or flashing while the engine is running to warm the driver of such occurrence of trouble and at the same time it stores the applicable diagnostic trouble codes in ECM (PCM) memory. Refer to "Engine Diagnosis" for details.