Operation CHARM: Car repair manuals for everyone.
Manuals through 2025 now available!

Our trusted friends have launched a new website named LEMON, which has newer manuals. It also contains all the CHARM manuals.

LEMON is the spiritual successor to CHARM, I recommend you try it!

Link: lemon-manuals.la or lemon-manuals.org.ua

(Some people have issue connecting. LEMON is investigating. For now, use Firefox or change your DNS server)

Or, hide this message: temporarily or permanently

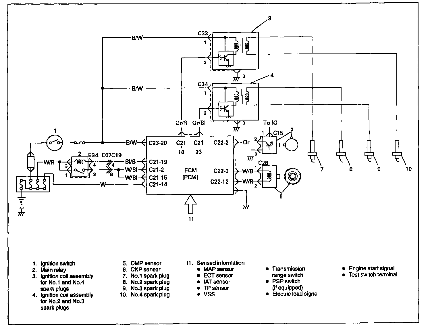
System Diagnosis

System Wiring Diagram:









REFERENCE
Oscilloscope waveforms is as shown in figure when connecting oscilloscope between terminal C22-3 of ECM connector connected to ECM and body ground, and between terminal C21-10 (or C21-23) and body ground.