Operation CHARM: Car repair manuals for everyone.
Manuals through 2025 now available!

Our trusted friends have launched a new website named LEMON, which has newer manuals. It also contains all the CHARM manuals.

LEMON is the spiritual successor to CHARM, I recommend you try it!

Link: lemon-manuals.la or lemon-manuals.org.ua

(Some people have issue connecting. LEMON is investigating. For now, use Firefox or change your DNS server)

Or, hide this message: temporarily or permanently

Installation

INSTALLATION





1. Install 2nd brake piston.





a. Put piston spring in transmission case and insert piston assembly into case after applying fluid to piston rod, seal and seal ring.





b. Install piston cover to case after applying fluid to 2 cover seals.
c. Push down piston cover by using valve lifter with 17 mm socket and install snap ring. Refer to Clutch and Brake Parts Diagnosis.





2. Install manual shift shaft and parking lock pawl.





a. Install lower washer and parking lock rod to manual shift shaft.
b. Install manual shift shaft into transmission case, and then, manual detent spring. Use special care so that manual shift shaft will not damage oil seal lip when passing through it.
Tightening Torque
(a): 10 Nm (1.0 kg.m, 7.5 ft. lbs.)





c. Install shift shaft upper washer and then manual shift lever to manual shift shaft. Tighten lower nut first and then upper nut.
Tightening Torque
(b): 30 Nm (3.0 kg.m, 22.0 ft. lbs.)
d. After tightening nuts, check manual shift shaft for smooth rotation.





e. Install restrictor pin and snap ring to parking lock pawl sleeve. And then install it to case.





f. Install parking lock pawl.
i. Shift manual shift lever to a position other than P.
ii. Install parking lock pawl.
iii. Install lock pawl shaft and lock pawl spring, and then, check to make sure that parking lock pawl moves smoothly when manual shift lever is moved.
3. Install 1st-reverse brake piston.
a. Apply fluid to inner and outer seals (O-ring) and fit them to piston. Use new seals.
b. Insert piston into case in such way that the side with spring holes comes to the top. Make sure that seals are not twisted or caught.





c. Place return spring assembly on piston. Check to make sure that each spring of return spring assembly is fitted securely in spring hole in piston.





d. Push down return spring assembly and install snap ring.





4. Using a special tool (Bearing installer) and a hammer, install countershaft.
When inserting countershaft into case check to make sure that spacer is in such position as shown in figure.

CAUTION: Do not hammer shaft excessively hard, or snap ring and case will be damaged.

Special Tool
(A): 09951 - 76010





5. Install output shaft.
a. Shift manual shift lever to a position other than P.
b. Using a special tool (Bearing installer) and hammer, install output shaft.

Special Tool
(A): 09951 - 76010
6. Install reduction driven gear on countershaft.
a. Shift manual shift lever to P position so that output shaft is locked and cannot turn.





b. Tighten driven gear nut to specification.

CAUTION:
- Tighten nut by turning wrench by hand.
- Tightening nut by hammering wrench may cause damage to parking lock pawl, output shaft and reduction gear.

Tightening Torque
(c): 130 Nm (13.0 kg.m, 94.0 ft. lbs.)





c. Using a chisel and a hammer, caulk driven gear nut at 2 places.





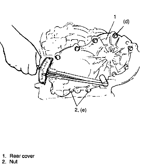
7. Install transmission rear cover.
a. Install rear cover gasket.
b. Install rear cover.
Check that output shaft bearing enters to rear cover bearing hole smoothly.
c. Install 10 bolts and 2 nuts.
Torque bolts and nuts to following specifications.

NOTE: Check to make sure that the shafts rotate smoothly with out abnormal noise.

Tightening Torque
(d): 20 Nm (2.0 kg.m, 14.5 ft. lbs.)
(e): 13 Nm (1.3 kg.m, 9.5 ft. lbs.)





8. Using special tools (Output shaft remover and Bearing remover handle), push output shaft against rear cover side.
a. Fit 4 projections of special tool (Output shaft remover) to 4 notches A in case.
b. Push bearing and output shaft against rear cover side by tapping special tool (Bearing remover handle) with a hammer lightly.

CAUTION:
- Do not hit output shaft directly, or shaft end will be damaged.
- Be careful not to hammer with special tool too hard.

Special Tool
(B): 09925 - 18010
(C): 09927 - 08210





9. After engaging teeth of final gear and countershaft gear, install differential assembly.

CAUTION:
- Be careful not to damage gear tooth by hitting it with other one.
- Make sure that differential assembly is placed on case straightly, while installing it.
- Drive in differential by giving force to side bearing inner race through special tool (bearing installer).

Special Tool
(D): 09951 - 76010
10. Install 1st-reverse brake parts.





a. Install damper plate to return spring assembly with convex side upward. Use care not to install in reverse direction.





b. Install discs, plates and flange in following order:
(1) Plate -> (2) Disc -> (3) Plate -> (4) Disc -> (5) Plate -> (6) Disc -> (7) Plate -> (8) Disc -> (9) Flange (Flat side down)

NOTE: When using new discs for installation, soak them in fluid for more than 2 hours before installation.

c. Install snap ring.





11. Measure 1st-reverse brake clearance. Measure clearance between snap ring and flange.
1st-reverse brake clearance
0.58 - 1.92 mm (0.023 - 0.075 inch)





12. Check 1st-reverse brake piston for operation. Check for piston movement by blowing air into oil hole.





13. Install rear planetary ring gear.
Engage ring gear and output shaft spline, and insert.





14. Install rear planetary ring gear races and bearing. Install in following order:
a. Race (flange side up)
b. Bearing
c. Race (flange side up)
For proper positions and directions of ring gear races installation, refer to figure under "ASSEMBLING UNIT".





15. Check one-way clutch direction.
Provisionally assemble one-way clutch and rear planetary gear, then turn them by hand.
They should rotate freely in arrow direction A but lock in the other way.
Remove one-way clutch and keep its correct side in mind until it is installed into transmission.





16. Install rear planetary thrust washers on rear planetary gear.
Apply grease to thrust washers and fit them before and behind planetary gear, one each.
Make sure that different lug shapes match slots in planetary gear.
"A": SUZUKI SUPER GREASE C, 99000 - 25030





17. Install rear planetary gear with teeth of 1st-reverse brake discs aligned.
After installing rear planetary gear, check thrust washers and races for proper installation by moving rear planetary gear up and down lightly by hand. If gear assembly makes clear sound like "Click" when moved up and down, washers and races are installed in place. But if no sound or thick one is heard, it is possible that they are out of place.
In such case, remove gear assembly and check.





18. Install one-way clutch race snap ring into groove of transmission case.
19. Place one-way clutch on rear planetary gear and while turning planetary gear clockwise by hand, insert one-way clutch to correct position.





After installing one-way clutch to rear planetary gear, check to confirm that planetary gear turns clockwise but locks in the other way.

NOTE: Rotation check must be performed without fail.





20. Push one-way clutch race snap ring into place by hand. Visually check to make sure that ring is fully seated. Also, make sure that ends of snap ring are between lugs.





21. Install sun gear pin and thrust washer on sun gear assembly. Apply grease to thrust washer so that it will not fall off. Check to make sure that pin is fitted in thrust washer notch.
"A": SUZUKI SUPER GREASE C, 99000 - 25030





22. Push in sun gear assembly while engaging it with rear planetary gear. Be careful not to damage bushing inside sun gear. After installing sun gear, check thrust washers for proper installation by moving sun gear up and down lightly with finger. If sun gear makes clear sound like "Click" when moved up and down, washers are installed in place. But if no sound or thick one is heard, it is possible that they are out of places. In such case, remove sun gear and check.





23. Install front planetary gear bearing and race to sun gear in following order.
a. Bearing
b. Race (flange side down)
Refer to figure under "ASSEMBLING UNIT" for installation.





24. Install front planetary gear assembly while turning it back and forth. After installing front planetary gear assembly, check bearing and race installed in step 23 for proper installation by moving planetary gear assembly up and down lightly with finger. If planetary gear makes clear sound like "Click" when moved up and down, bearing and race are installed in place. But if no sound or thick one is heard, it is possible that they are out of place. In such case, remove planetary gear assembly and check.





25. Install ring gear bearing and races on front planetary gear assembly in following order:
a. Race (flange side up)
b. Bearing
c. Race (flange side down)
Refer to figure under "ASSEMBLING UNIT" for proper installation.





26. Install front planetary ring gear assembly.
After installing front planetary ring gear assembly, check bearing and races installed in step. 25) for proper installation by moving ring gear assembly up and down lightly with finger. If ring gear assembly makes clear sound like "Click" when moved up and down, bearing and races are installed in place. But if no sound or thick one is heard, it is possible that they are out of place. In such case, remove ring gear assembly and check.





27. After making sure for its correct installing direction, install 2nd brake band in case.
Be careful not to bend it too much, or damage it.

NOTE: When installing a new brake band, soak it in transmission fluid for more than 2 hours in advance.





28. Inspect output shaft seal ring for wear or damage, and replace if necessary.
Do not expand seal ring excessively when installing.





29. Install input shaft seal rings on input shaft, if replacing is required.
When installing input shaft seal rings, apply grease to grooves in input shaft before installation.
Do not expand seal ring excessively.





30. Apply grease to direct clutch washer, and install it on direct clutch with its grooved face outward and aligning washer protrusions to direct clutch drum groove.
"A": SUZUKI SUPER GREASE C, 99000 - 25030





31. Align teeth of direct clutch discs and then install direct clutch on input shaft.
After installing direct clutch, check it for proper installation by moving it up and down lightly by hand. If direct clutch makes clear sound like "Click" when move up and down, it is installed in place. But if no sound or thick one is heard, it is possible that direct clutch is not installed correctly. In such case, remove direct clutch and reinstall.





32. Apply grease to ring gear races and bearing.
Install ring gear race (OD: 35.8 mm/1.41 inch) on ring gear with its flange side down. Another ring gear race (OD: 37.9 mm/1.49 inch) and bearing are attached on input shaft.
Refer to figure under "ASSEMBLING UNIT" for proper installation.
"A": SUZUKI SUPER GREASE C, 99000 - 25030





33. Install input shaft and forward and direct clutch assemblies.
Hold input shaft with direct clutch installed by hand and while turning it back and forth, insert it into case.
Align teeth of forward clutch discs before installation.
When installing input shaft, be careful so that its bearing and race will not fall off.
Be careful not to damage output shaft seal.
After installing input shaft, check it for proper installation by moving it up and down lightly by hand. If input shaft makes clear sound like "Click" when moved up and down, it is installed in place. But if it doesn't, try again for proper installation.





34. Check for correct installation of each component parts as follows.
After installing input shaft, check to make sure that each component is installed properly according to following description. Place straightedge on transmission case end surface and measure the distance "b" by using vernier. For the distance "b", subtract the width of straightedge from vernier reading. If measured distance "b" is within following specification, it means that component parts other than direct clutch are installed properly.
If out of specification, remove input shaft with direct clutch and reinstall them properly.
Distance "b": 49.82 - 51.06 mm (1.962 - 2.010 inch)





35. Align hole in second brake band with case pin hole and insert second brake band pin.
Apply fluid to brake band pin before installation.





36. Install case gasket and transmission case housing.
Use new gasket. Install gasket using care so that it will not protrude inside.





37. Among 14 bolts of case housing bolts, 3 bolts have starshaped recess in their heads.
Install these 3 bolts in such positions as shown by A in figure after applying sealant to their threads. Do not apply thread locking compound to housing bolts. Tighten case housing bolts to specification.
"B": SUZUKI BOND No.1215, 99000 - 31110
Tightening Torque
(f): 20 Nm (2.0 kg.m, 14.5 ft. lbs.)





38. Measure input shaft position.
Seated position of input shaft can also be measured after installing case housing as distance "c" (Measured dimension-straightedge width A), and it should be 188.37 to 189.91 mm (7.416 to 7.477 inch).
Distance "c": 188.37 - 189.91 mm (7.416 - 7.477 inch)





39. Install input shaft bearing race and bearing on input shaft. Grease bearing race and install it with its flange side outward together with bearing. Install so that bearing does not get on bearing race flange.
"A": SUZUKI SUPER GREASE C, 99000 - 25030





40. Install another input shaft bearing race on oil pump. Grease bearing race and attach it to oil pump body.

NOTE:
- With this bearing race, input shaft thrust play is adjusted. Refer to step 44 for measuring procedure.
- Make sure seal rings are installed in pump cover flange in good condition lubricated with automatic transmission fluid.

"A": SUZUKI SUPER GREASE C





41. Attach greased direct clutch washer on oil pump. Fit washer flange into notch of oil pump body.
"A": SUZUKI SUPER GREASE C
42. Install greased new oil pump cover seal (O-ring) in outer groove of oil pump.
Make sure that cover seal is not twisted or extruded.





43. Align oil pump bolt hole with case bolt hole and push in pump gently by hand until it contacts case. Use care so that direct clutch washer does not fall off, and input shaft seal rings and pump cover seal rings will not come off or get damaged.
While making sure smooth rotation of input shaft, tighten 6 oil pump bolts gradually to specification.
Tightening Torque
(g): 23 Nm (2.3 kg.m, 17.0 ft. lbs.)





44. Check input shaft end play.
Apply dial gauge onto input shaft end surface and measure thrust play of input shaft.
If out of specification, remove oil pump and replace input shaft bearing race on oil pump side (Refer to step 40).

NOTE: Check to be sure that input shaft turns smoothly.

Special Tool
(D): 09900 - 20606
(E): 09900 - 20701





Input shaft thrust play: 0.3 - 0.9 mm (0.012 - 0.035 inch)





45. Install solenoid wire harness to case.
a. Insert solenoid wire hold plate in groove in solenoid wire grommet and install it to stud bolt of transmission case.
b. Secure hold plate with lock washer and nut.
c. Install solenoid wire clamps to rear cover and case. Secure harness with them.

NOTE: When inserting grommet into case bore, check to be sure that its O-ring is in good condition.

46. Check second brake band for proper installation.
Looking through second brake band cover hole, check that second brake piston rod end is aligned with the center of recess in brake band as shown in below figure. If rod end contacts outside of brake band recess, pull up second brake band by inserting thin wire in brake band fitting so that band recess aligns with rod end properly.





47. Check second brake piston stroke as previously described. For checking procedure, refer to Direct Clutch.





48. Install second brake band cover with new gasket.
Tightening Torque
(h): 8 Nm (0.8 kg.m, 6.0 ft. lbs.)
49. Install oil pressure control cable in case.





50. Install accumulator springs and pistons.
a. Install new seal rings on pistons, if required.
Be sure to apply automatic transmission fluid to pistons and seal rings.
b. Insert springs into accumulator bores.

NOTE: Install 2nd brake accumulator springs as shown in figure.

c. Install pistons into case.
d. Install spring into 2nd brake accumulator piston.





51. Install valve body assembly to case. Align manual valve with pin on manual shift lever and lower valve body into place. Install 11 bolts in lower valve body. Each bolt length is given in figure. First, tighten 3 reamer bolts (positioning bolts) C and D lightly. Then tighten all bolts in diagonal order.

CAUTION: Care should be taken to put manual shift lever pin in between two flanges at end of manual shift valve.

Tightening Torque for lower valve body bolts 10 Nm (1.0 kg.m, 7.5 ft. lbs.)





52. Connect oil pressure control cable on throttle valve cam. While holding cam down with fingers, slip cable end into slot.





53. Install oil tubes to lower valve body. First put the end of oil tube without flange about 2 mm (0.08 inch) into lower valve body, then insert the one with flange and push both ends of tube by hand. Next, tap them in lightly with a plastic hammer as far as flange position.

NOTE:
- Install them horizontally to valve body.
- Make sure to insert them up to flange position securely.
- Care should be taken not to deform tubes.





54. Connect 2 solenoid valve wires; one to direct clutch solenoid valve and the other to second brake solenoid valve.





55. Install oil strainer and solenoid valve wire clamp. Clamp solenoid valve wire by fastening solenoid valve wire clamp with oil strainer bolt in the position as shown in figure.
Tightening Torque
(i): 5.5 Nm (0.55 kg.m, 4.0 ft. lbs.)
56. Install magnet in oil pan and oil pan with new gasket.





a. Install magnet in oil pan right under oil strainer.
b. Check to make sure that oil tubes are not in contact with oil pan.





c. There are 15 oil pan bolts in all and two of them have cross slot in their heads. Mount these two cross slotted bolts in such positions as shown in figure after applying sealant to their threads. Tighten 15 oil pan bolts to specification.
"B": SUZUKI BOND No.1215, 99000 - 31110
Tightening Torque
(j): 5 Nm (0.5 kg.m, 4.0 ft. lbs.)
d. Tighten oil pan drain plug to specification.
Tightening Torque
(k): 21 Nm (2.1 kg.m, 15.5 ft. lbs.)





57. Install oil pipes.
a. If oil outlet pipe has been removed or replaced, tighten it with union bolt with new gaskets to specified torque.
Tightening Torque
(l): 22 Nm (2.2 kg.m, 16.0 ft. lbs.)
b. Clamp pipes with oil pipe plate through rubber tubes.
Tightening Torque for plate bolts
8 mm: 13 Nm (1.3 kg.m, 9.5 ft. lbs.)
6 mm: 5.5 Nm (0.55 kg.m, 4.0 ft. lbs.)
58. Install oil filler tube with O-ring.
Insert oil filler tube in case as far as its flange and tighten with bolt.

NOTE: Check to make sure that oil filler tube O-ring is in good condition.

Tightening Torque
(m): 5.5 Nm (0.55 kg.m, 4.0 ft. lbs.)
59. Install engine mounting LH bracket. Tighten bolts to specification. Engine; Service and Repair.
Tightening Torque for bracket bolts
55 Nm (5.5 kg.m, 40.0 ft. lbs.)





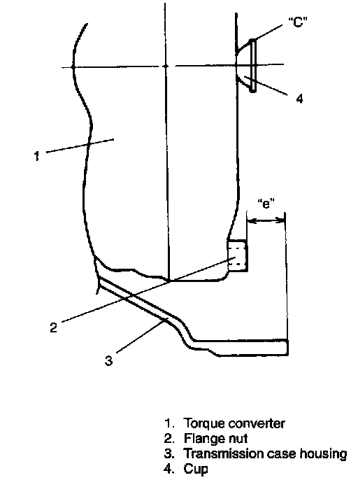
60. Install torque converter to input shaft.
a. Install torque converter, using care not to damage oil seal of oil pump.
b. After installing torque converter, check to make sure that distance "e" is within specification.
Distance "e": More than 21.4 mm (0.85 inch)
c. Check torque converter for smooth rotation.
d. Apply grease around cup at the center of torque converter.
"C": SUZUKI SUPER GREASE A, 99000 - 25010

CAUTION:
- Before installing converter, make sure that its pump hub portion is free from nicks, burrs or damage which may cause oil seal to leak.
- Be very careful not to drop converter on oil pump gear. Damage in gear, should it occur, may cause a critical trouble.

Dimension Data:





DIMENSION DATA