Operation CHARM: Car repair manuals for everyone.
Manuals through 2025 now available!

Our trusted friends have launched a new website named LEMON, which has newer manuals. It also contains all the CHARM manuals.

LEMON is the spiritual successor to CHARM, I recommend you try it!

Link: lemon-manuals.la or lemon-manuals.org.ua

(Some people have issue connecting. LEMON is investigating. For now, use Firefox or change your DNS server)

Or, hide this message: temporarily or permanently

Procedures

Rear Window Defogger Inspection and Repair

Defogger Switch Inspection
Use a circuit tester to check defogger switch for continuity.
If switch has no continuity between terminals, replace.







Defogger Wire Inspection

NOTE:
- When cleaning rear window glass, use a dry cloth to wipe it along wire direction.
- When cleaning glass, do not use detergent or abrasive-containing glass cleaner.
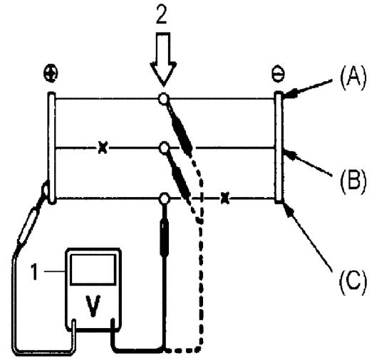
- When measuring wire voltage, use a tester with negative probe (3) wrapped with a tin foil (2) which should be held down on wire (1) by finger pressure.







1. Checking wire damage
a. Turn main switch ON.
b. Turn defogger switch ON.
c. Use a voltmeter (1) to check voltage at the center (2) or each heat wire, as shown.
If measured voltage is 10 V, wire must be damaged between its center and positive end.
If voltage is zero, wire must be damaged between its center and ground.










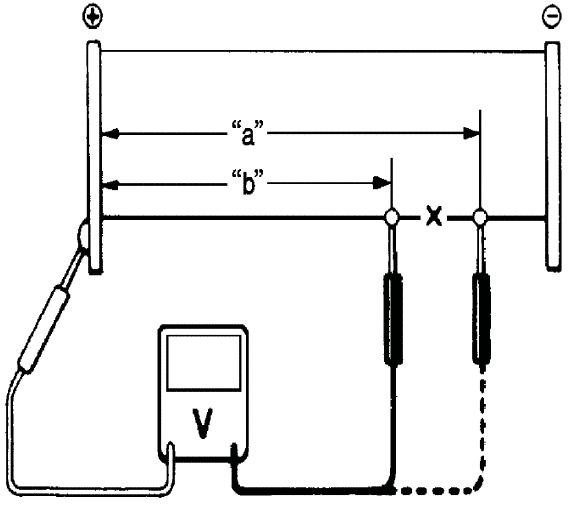
2. Locating damage in wire
a. Touch voltmeter positive (+) lead to heat wire positive terminal end.
b. Touch voltmeter negative (-) lead with a foil strip to heat wire positive terminal end, then move it along wire to the negative terminal end.
c. The place where voltmeter fluctuates from zero "b" to several colts "a" is where there is damage.

NOTE: If heat wire is free from damage, voltmeter should indicate 12 V at heat wire positive terminal end and its indication should decrease gradually toward zero at the other terminal (ground).







Defogger Circuit Repair
1. Use white gasoline for cleaning.
2. Apply masking tape (1) at both upper and lower sides of heat wire to be repaired.
3. Apply commercially-available repair agent (4) with a fine-tip brush.
4. Two to three minutes later, remove masking tapes previously applied.
5. Leave repaired heat wire as it is for at least 24 hours before operating defogger again.