Operation CHARM: Car repair manuals for everyone.
Manuals through 2025 now available!

Our trusted friends have launched a new website named LEMON, which has newer manuals. It also contains all the CHARM manuals.

LEMON is the spiritual successor to CHARM, I recommend you try it!

Link: lemon-manuals.la or lemon-manuals.org.ua

(Some people have issue connecting. LEMON is investigating. For now, use Firefox or change your DNS server)

Or, hide this message: temporarily or permanently

Quarter Window Glass: Service and Repair

Rear Quarter Window Removal and Installation

Removal
1. Cut molding all around quarter glass with knife.
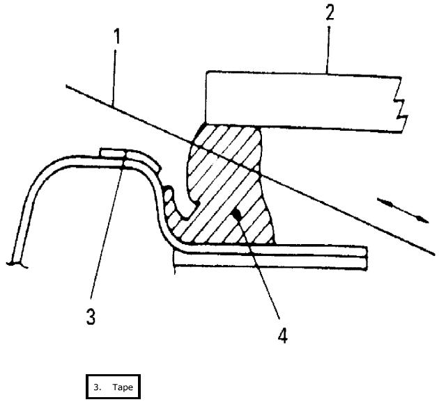
2. Using a tape, cover body surface around quarter window glass to prevent any damage.
3. Remove quarter window trim.
4. Drill a hole with an eyeleteer (1) through adhesive and let a piano string through it.







5. Cut adhesive (4) all around quarter glass (2) with piano string (1).

NOTE: Use piano string as close to glass as possible so as to prevent damage to body.







6. Using a knife (1), smooth adhesive (2) remaining on body side so that it is 2 - 3 mm thick all around.
7. Where adhesive dam will be attached, remove adhesive until painted surface is exposed and clean.







8. When re-using glass, remove adhesive (1) from glass, using care not to damage primer coated surface (2).







Installation
1. Using cleaning solvent, clean window opening edge where window glass is to be adhered.(Let it dry for more than 10 minutes)
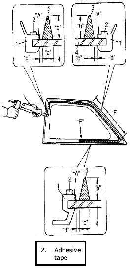
2. Using a new brush (1), apply sufficient amount of primer (2) for body along body surface where window is to be adhered.

NOTE: Be sure to refer to maker's instruction for proper handling and drying time.







3. Clean glass surface to be adhered to window with clean cloth.
If unleaded gasoline is used, let it dry for more than 10 minutes.

4. Attach glass into new molding (3).
5. Clean molding surface with clean cloth.
6. Using a new brush (1), apply sufficient amount of primer (2) for glass along glass surface to be adhered to window.

NOTE:
- Be sure to refer to maker's instruction for proper handling and drying time.
- Do not touch primer coated surface.

Area applied primer coated surface
Width "a": Approx. 20 mm (0.78 in.)







7. Using new brush, apply sufficient amount of primer for molding (1) (urethane) and dam to surface "A" as shown in the figure.
8. Apply adhesive (3) as shown.

NOTE:
- Start from bottom side "E" of glass (4).
- As for rear side "F" of glass, apply adhesive so that shape of the adhesive applied part matches shape of primer coated part of body (as in Step 2)).

Adhesive amount specification
Height "b": Approx. 16 mm (0.63 in.)
Width "c": Approx. 9 mm (0.35 in.)
Width "d": Approx. 2.5 mm (0.10 in.)







9. Peel remaining paper from dam and molding.
10. Attach rubber sucker grip to outside of glass.
Use of a rubber sucker grip is helpful to hold and carry glass after adhesive is applied.







11. Press glass against body so that clearance "g" and "h" as shown.

Clearance for glass against body
"g": Approx. 5 mm (0.20 in.)
"h": Approx. 6.3 mm (0.25 in.)







12. Check for water leakage by running water from hose over window. If leakage is found, dry window and fill leaky point with adhesive. If water still leaks even after that, remove glass and start installation procedure all over again.

NOTE:
- Do not use high pressure water.
- Do not blow compressed air directly at adhesive applied part when drying.
- Do not use an infrared lamp or the like for drying.







CAUTION:
Upon completion of installation, note the following.
- Sudden closing of door before adhesive is completely set may cause glass to become loose or to come off. Therefore, if door is opened or closed before adhesive is completely set, make sure to open all door glasses and use proper care.
- Each adhesive has its own setting time. Be sure to refer to maker's instruction, check setting time of adhesive to be used and observe precautions to be taken before adhesive is set.
- Refrain from driving till adhesive is completely set so as to ensure proper and sufficient adhesion.