Operation CHARM: Car repair manuals for everyone.
Manuals through 2025 now available!

Our trusted friends have launched a new website named LEMON, which has newer manuals. It also contains all the CHARM manuals.

LEMON is the spiritual successor to CHARM, I recommend you try it!

Link: lemon-manuals.la or lemon-manuals.org.ua

(Some people have issue connecting. LEMON is investigating. For now, use Firefox or change your DNS server)

Or, hide this message: temporarily or permanently

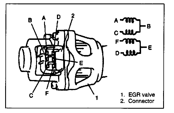
Without Scan Tool

INSPECTION







1. Check resistance between the following terminals of EGR valve in each pair.
If found faulty, replace EGR valve assembly.




2. Remove carbon from EGR valve gas passage.

CAUTION: Do not use any sharp-edged tool to remove carbon. Be careful not to damage or bend EGR valve, valve seat and rod.

3. Inspect valve, valve seat and rod for fault, cracks, bend or other damage.
If found faulty, replace EGR valve assembly.