Operation CHARM: Car repair manuals for everyone.
Manuals through 2025 now available!

Our trusted friends have launched a new website named LEMON, which has newer manuals. It also contains all the CHARM manuals.

LEMON is the spiritual successor to CHARM, I recommend you try it!

Link: lemon-manuals.la or lemon-manuals.org.ua

(Some people have issue connecting. LEMON is investigating. For now, use Firefox or change your DNS server)

Or, hide this message: temporarily or permanently

Forward Clutch






PRELIMINARY CHECK





1. Measure piston stroke before disassembly.
a. Install forward clutch assembly to transmission rear cover.
b. Measure piston stroke while applying and releasing compressed air (400 - 800 kPa, 4 - 8 kg/cm2, 57 - 113 psi) through oil hole (1) using special tools.
Special Tool
(A): 09900-20606
(B): 09900-20701
Specified piston stroke
- 1.6 liter model: 0.76 - 1.04 mm (0.03 - 0.040 inch)
- 1.8 liter model: 0.85 - 1.05 mm (0.034 - 0.041 inch)
c. For 1.8 liter model, measure pack clearance while applying and releasing compressed air (170 - 230 kPa, 1.7 - 2.3 kg/cm2, 25 - 32 psi) through oil hole (1) using the same special tools as the above step b).
Specified pack clearance: 0.34 - 0.72 mm (0.014 - 0.028 inch)
If measured piston stroke exceeds specified value, disassemble and inspect inner parts.

DISASSEMBLY





1. Remove flange, discs and plates by removing snap ring in following order.
<1.6 liter model>
(1) Flange -> (2) Disc (3) Plate -> (4) Disc -> (5) Plate
<1.8 liter model>
(1) Flange -> (2) Disc -> (3) Plate -> (4) Disc -> (5) Plate (6) Disc -> (7) Plate
2. Remove clutch drum thrust washer.





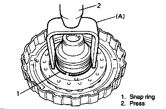
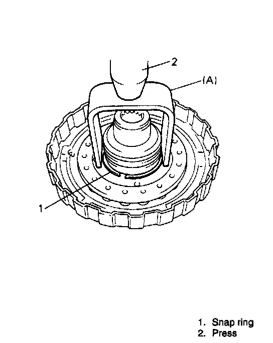
3. Using special tool and hydraulic press, compress forward clutch return spring subassembly and remove snap ring.
Special Tool
(C): 09926-98330

CAUTION: Be careful when applying pressure, for over pressure will cause plate section of forward clutch return spring subassembly to deform.

4. Remove forward clutch return spring subassembly.





5. Install forward clutch piston subassembly to transmission rear cover.
6. Remove forward clutch piston subassembly with O-rings installed through oil hole (A) using compressed air (400 - 800 kPa, 4 - 8 kg/cm2, 57 -113 psi).

NOTE:
^ If piston does not pop out, it is recommended to use needle-nose pliers for removal.
^ Never reuse removed O-rings.





7. Remove clutch drum oil seal rings of forward clutch drum subassembly and transmission rear cover.

INSPECTION





1. Check that sliding surfaces of discs, plates and flanges are not worn or burnt. If necessary, replace.

NOTE:
^ If disc lining is exfoliated or discolored, or part of printed numbers ((A)) is defaced, replace all discs.
^ Before assembling new discs, soak them in A/T fluid for at least two hours.





2. Measure height of forward clutch return spring.
Specified value: 22 mm (0.9 inch)

NOTE: Do not apply excessive force when measuring spring height. Perform measurement at several points.





3. Check to make sure that ball makes creaking noise when shaking forward clutch piston. (i.e., check that ball is free.)
4. Check that there is no leakage from backside of oil hole (A) by applying low pressure air.

ASSEMBLY





1. Coat new clutch drum oil seal rings with A/T fluid.
2. Install them to transmission rear case and forward clutch drum subassembly.

NOTE:
^ Do not spread ring ends excessively.
^ Make sure that opening ends of oil seal rings are not lined up so as to prevent fluid leakage.





3. Coat new O-rings with A/T fluid.
4. Install new O-rings to forward clutch piston subassembly.
5. Press forward clutch piston subassembly to forward clutch drum subassembly with fingers.

NOTE: Make sure that O-ring is not twisted or deviated from position during insertion of piston.





6. Place forward clutch return spring subassembly.
7. Install snap ring using special tool and hydraulic press.
Special Tool
(A): 09926-98330

NOTE:
^ When installing return spring, be careful so that return spring will not fall or tilt.
^ Do not align opening in snap ring with lug of forward clutch return spring subassembly at its retainer.

CAUTION: Be careful when applying pressure, for over pressure will cause plate section of forward clutch return spring subassembly to deform.





8. Install snap ring by installing plates, discs and flange in following order.
<1.6 liter model>
(1) Plate -> (2) Disc -> (3) Plate -> (4) Disc -> (5) Flange
<1.5 liter model>
(1) Plate -> (2) Disc -> (3) Plate -> (4) Disc -> (5) Plate (6) Disc -> (7) Flange

NOTE:
^ Check to make sure that flat end of flange faces toward upper side. Also, make sure that opening end of ring is not aligned with groove section.
^ For 1.8 liter model, make sure that thickness of (1) Plate, (3) Plate and (5) Plate is as follows.
^ (1) Plate: 1.8 mm (0.070 inch)
^ (3) Plate and (5) Plate: 1.6 mm (0.063 inch)





9. Coat race and clutch drum thrust washer with grease.
Grease: 09900-25030 (SUZUKI SUPER GREASE C)





Race Dimension:

10. Install them onto clutch drum subassembly.





11. Measure piston stroke of forward clutch piston subassembly again.
Special Tools
(A): 09900-20606
(B): 09900-20701