Operation CHARM: Car repair manuals for everyone.
Manuals through 2025 now available!

Our trusted friends have launched a new website named LEMON, which has newer manuals. It also contains all the CHARM manuals.

LEMON is the spiritual successor to CHARM, I recommend you try it!

Link: lemon-manuals.la or lemon-manuals.org.ua

(Some people have issue connecting. LEMON is investigating. For now, use Firefox or change your DNS server)

Or, hide this message: temporarily or permanently

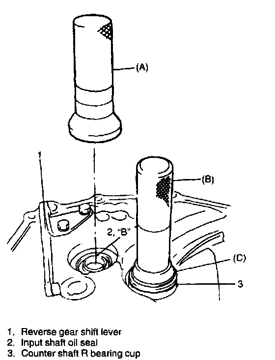
Assembly of Sub Assembly

ASSEMBLY





1. If reverse gear shift lever has been removed, fasten it with 2 bolts after applying thread lock cement.
Tightening Torque
(a): 23 Nm (2.3 kg.m, 17.0 ft. lbs.)

NOTE:
- When installing reverse gear shift lever, set distance "a" between lever end and shaft bore to be 5 mm (0.2 inch).

Distance "a": 5 mm (0.2 inch)
- Distance "a" can be measured by installing reverse gear shaft provisionally.
- When "a" is 5 mm (0.2 inch), clearance between reverse idler gear groove and shift lever end will be 1 mm (0.04 inch).
2. Install input shaft oil seal facing its spring side upward. Use special tool and hammer for installation and apply grease to oil seal lip.
"B": SUZUKI SUPER GREASE A, 99000-25010
Special Tool
(A): 09913-84510
3. Install counter shaft R bearing cup by using special tools and hammer.
Special Tools
(B): 09913-75821
(C): 09924-84510-004





4. Install input R bearing by using special tool and hammer.
Special Tool
(A): 09913-76010





5. Install input R bearing stopper plate and bolt applied with thread lock cement.
"A": Thread lock 1322, 99000-32110
Tightening Torque
(a): 10 Nm (1.0 kg-m, 7.5 ft. lbs.)