Operation CHARM: Car repair manuals for everyone.
Manuals through 2025 now available!

Our trusted friends have launched a new website named LEMON, which has newer manuals. It also contains all the CHARM manuals.

LEMON is the spiritual successor to CHARM, I recommend you try it!

Link: lemon-manuals.la or lemon-manuals.org.ua

(Some people have issue connecting. LEMON is investigating. For now, use Firefox or change your DNS server)

Or, hide this message: temporarily or permanently

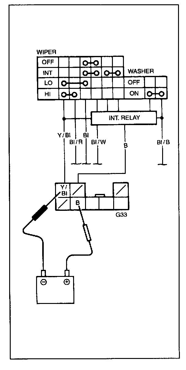
Wiper Relay: Testing and Inspection

INTERMITTENT WIPER RELAY




1. Disconnect combination switch coupler.
2. Connect (+) cord and (-) cord of 12 V battery to coupler terminals as shown.
3. Turn intermittent switch to "OFF" position.

If an operating sound is heard from relay, it is at work properly.