Operation CHARM: Car repair manuals for everyone.
Manuals through 2025 now available!

Our trusted friends have launched a new website named LEMON, which has newer manuals. It also contains all the CHARM manuals.

LEMON is the spiritual successor to CHARM, I recommend you try it!

Link: lemon-manuals.la or lemon-manuals.org.ua

(Some people have issue connecting. LEMON is investigating. For now, use Firefox or change your DNS server)

Or, hide this message: temporarily or permanently

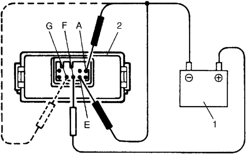
Power Door Lock Control Module: Testing and Inspection

Power Door Lock Controller (Without Keyless Entry System) Inspection

1. Disconnect power door lock controller coupler.
2. Connect (+) wire and (-) wire of 12 V battery (1) to terminal "A", "E" and "F" as shown in figure.
3. Disconnect cord from terminal "E" and connect it to terminal "G".
4. Repeat Steps 2) and 3) several times and if relay operation is heard every time, it means that controller (2) is operating.