Operation CHARM: Car repair manuals for everyone.
Manuals through 2025 now available!

Our trusted friends have launched a new website named LEMON, which has newer manuals. It also contains all the CHARM manuals.

LEMON is the spiritual successor to CHARM, I recommend you try it!

Link: lemon-manuals.la or lemon-manuals.org.ua

(Some people have issue connecting. LEMON is investigating. For now, use Firefox or change your DNS server)

Or, hide this message: temporarily or permanently

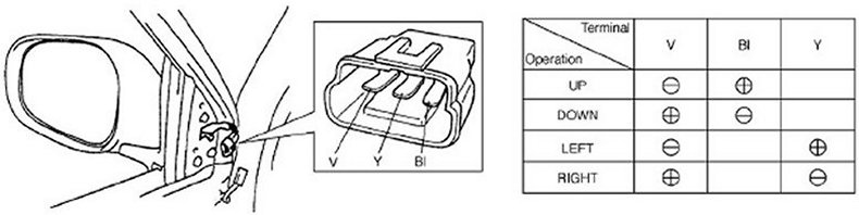
Power Mirror Motor: Testing and Inspection

Power Door Mirror Actuator Inspection

1. Remove garnish from door.
2. Disconnect door mirror coupler.
3. Check that door mirror operates properly when battery voltage is applied to connector terminals. Connect battery positive and negative terminal to the door mirror terminal as shown.
If it does not follow the table's operation, replace door mirror assembly.

NOTE: When installing door mirror to door, be careful not to pinch harness between door and door mirror.