Operation CHARM: Car repair manuals for everyone.
Manuals through 2025 now available!

Our trusted friends have launched a new website named LEMON, which has newer manuals. It also contains all the CHARM manuals.

LEMON is the spiritual successor to CHARM, I recommend you try it!

Link: lemon-manuals.la or lemon-manuals.org.ua

(Some people have issue connecting. LEMON is investigating. For now, use Firefox or change your DNS server)

Or, hide this message: temporarily or permanently

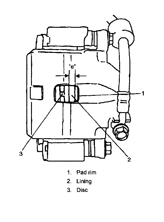
Brake Pad: Testing and Inspection

Check





Inspect pad linings periodically according to maintenance schedule whenever wheels are removed (for tire rotation or other reason). Take a look through hole of caliper and check lining thickness of inside pad. If one of brake pad is worn to service limit, all linings must be replaced at the same time.
Front brake pad thickness "e"
Standard: 10.0 mm (0.39 inch)
Limit: 2.0 mm (0.8 inch)