Operation CHARM: Car repair manuals for everyone.
Manuals through 2025 now available!

Our trusted friends have launched a new website named LEMON, which has newer manuals. It also contains all the CHARM manuals.

LEMON is the spiritual successor to CHARM, I recommend you try it!

Link: lemon-manuals.la or lemon-manuals.org.ua

(Some people have issue connecting. LEMON is investigating. For now, use Firefox or change your DNS server)

Or, hide this message: temporarily or permanently

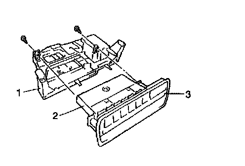
Heater Mode Control Switch

Removal
1. Disconnect negative (-) cable at battery.
2. Disable air bag system. Refer to "Disabling Air Bag System:".
3. Pull off heater control lever knobs.




4. Remove meter cluster hood (1) by removing its mounting screws (2).




5. Remove ashtray, center garnish (1) and instrument glove box compartment.




6. Remove mode control switch (2) with heater control panel (3) from heater control lever assembly.
7. Remove heater control panel (3) from heater mode control switch (2).

Installation
1. Install in reverse order of removal procedure.
2. Enable air bag system. Refer to "Enabling Air Bag System:".