Operation CHARM: Car repair manuals for everyone.
Manuals through 2025 now available!

Our trusted friends have launched a new website named LEMON, which has newer manuals. It also contains all the CHARM manuals.

LEMON is the spiritual successor to CHARM, I recommend you try it!

Link: lemon-manuals.la or lemon-manuals.org.ua

(Some people have issue connecting. LEMON is investigating. For now, use Firefox or change your DNS server)

Or, hide this message: temporarily or permanently

Pinout Values and Diagnostic Parameters

Inspection of ECM (PCM) and its Circuits

CAUTION:
ECM (PCM) cannot be checked by itself.
It is strictly prohibited to connect voltmeter or ohmmeter to ECM (PCM) with couplers disconnected from it.

ECM (PCM) and its circuits can be checked at ECM (PCM) wiring couplers by measuring voltage.

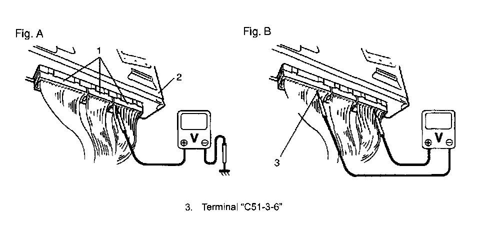
Voltage Check
1. Remove ECM (PCM) (2) from vehicle referring to "Engine Control Module (ECM) / Powertrain Control Module (PCM) Removal and Installation:".
2. Connect ECM (PCM) couplers (1) to ECM (PCM).
3. Check each terminal voltage with couplers connected by referring to "ECM (PCM) Voltage Values Table for Relation of A/C Control:






NOTE: For "Fig. A", "Fig. B" in the figure, refer to "ECM (PCM) Voltage Values Table for Relation of A/C Control:".