Operation CHARM: Car repair manuals for everyone.
Manuals through 2025 now available!

Our trusted friends have launched a new website named LEMON, which has newer manuals. It also contains all the CHARM manuals.

LEMON is the spiritual successor to CHARM, I recommend you try it!

Link: lemon-manuals.la or lemon-manuals.org.ua

(Some people have issue connecting. LEMON is investigating. For now, use Firefox or change your DNS server)

Or, hide this message: temporarily or permanently

Safing Sensor: Service and Repair

Forward Sensor

WARNING: During service procedures, be very careful when handling a sensor.
- Never strike or jar a sensor.
- Under some circumstances, it could cause improper operation of the air bag system. A sensor and mounting bracket bolts must be carefully torqued to assure proper operation.


Removal
1. Disconnect negative cable at battery.
2. Disable air bag system referring to "Disabling Air Bag System".
3. Remove front grill referring to "Front Bumper Components".




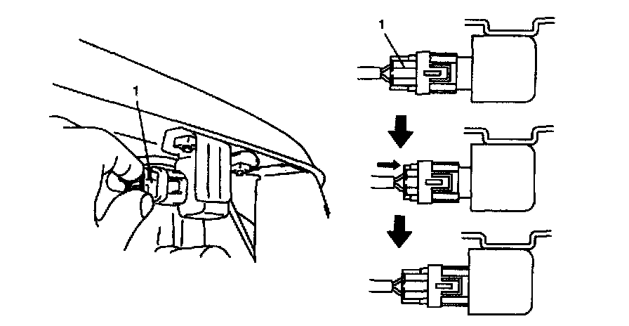
4. Disconnect forward sensor connector sliding connector outer (1) as shown.




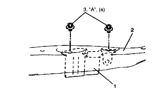
5. Remove forward sensor bolts (1), and forward sensor (2) from front panel (3).

Installation

CAUTION: Proper operation of forward sensor requires sensor be rigidly attached to vehicle structure and that the arrow on sensor bracket be pointing toward the front of the vehicle.




1. Check that none of the following faulty conditions exists.
- Bend or deformity of sensor bracket (1) and front panel.
- Foreign matter on mating surface of sensor bracket (1) with sensor or excessive rust.




2. Apply thread lock cement to mounting bolts thread. Install forward sensor (1) on front panel (2) and tighten mounting bolts (3) to specified torque.

"A": Thread lock cement "1332B" 99000-32100

Tightening torque
(a): 10 N.m (1.0 kg-m. 72 lb-ft)




3. Connect forward sensor connector pushing connector inner (1) as shown.
4. Connect negative cable at battery.
5. Enable air bag system referring to "Enabling Air Bag System".