Operation CHARM: Car repair manuals for everyone.
Manuals through 2025 now available!

Our trusted friends have launched a new website named LEMON, which has newer manuals. It also contains all the CHARM manuals.

LEMON is the spiritual successor to CHARM, I recommend you try it!

Link: lemon-manuals.la or lemon-manuals.org.ua

(Some people have issue connecting. LEMON is investigating. For now, use Firefox or change your DNS server)

Or, hide this message: temporarily or permanently

Component Tests and General Diagnostics

Generator Test (Undercharged Battery Check)
This condition, as evidenced by slow cranking or indicator clear with red dot can be caused by one or more of the following conditions even though indicator lamp may be operating normal.

The following procedure also applies to cars with voltmeter and ammeter.
1. Make sure that undercharged condition has not been caused by accessories left on for extended period of time.
2. Check drive belt for proper tension.
3. If battery defect is suspected, refer to "Battery Description:".
4. Inspect wiring for defects. Check all connections for tightness and cleanliness, battery cable connections at battery, starting motor and ignition ground cable.




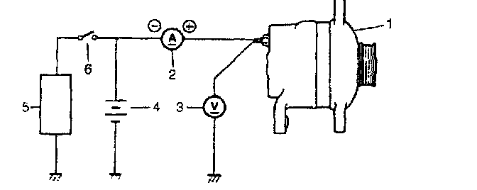
5. Connect switch (6), load (5), battery (4), voltmeter (3) and ammeter (2) to generator (1) as shown in figure.

Voltmeter: Set between generator B terminal and ground.
Ammeter: Set between generator B terminal and battery (+) terminal.

NOTE: Use fully charged battery.




No-Load Check
Run engine from idling up to 2000 rpm and read meters.

NOTE: Turn off switches of all accessories (wiper, heater etc.).

Specification for undercharged inspection
Current:
10 A maximum
Voltage (at 20 °C (68 °F))
14.2 - 14.8 V

NOTE: Consideration should be taken that voltage will differ somewhat with regulator case temperature as shown in the figure.

- If voltage is higher than standard value
If voltage is higher than standard value, check ground of brushes.
If brushes are not grounded, replace IC regulator.

- If voltage is below or in standard value
If voltage is lower than standard value, proceed to the following check.




- Ground "F" terminal and start engine, then measure voltage at "B" terminal as shown in the figure.

Voltage is higher than standard value:
- It is considered that generator itself is good but IC regulator has been damaged, replace IC regulator.
Voltage is lower than standard value:
- Generator itself has problem, check the generator.

Load Check
1. Run engine at 2000 rpm and turn on head light and heater motor.
2. Measure current and if it is less than 30 A repair or replace generator.




Generator Test (Overcharged Battery Check)
1. To determine battery condition, refer to "Battery Description:".
2. If obvious overcharge condition exists as evidenced by excessive spewing of electrolyte, measure generator "B" terminal voltage at engine 2000 rpm.
3. If measured voltage is higher than upper limit value, proceed to "Generator Disassembly:".
4. Check ground of brushes. If brushes are not grounded, replace IC regulator. Then check field coil for grounds and shorts, referring to "Generator Inspection:".