Operation CHARM: Car repair manuals for everyone.
Manuals through 2025 now available!

Our trusted friends have launched a new website named LEMON, which has newer manuals. It also contains all the CHARM manuals.

LEMON is the spiritual successor to CHARM, I recommend you try it!

Link: lemon-manuals.la or lemon-manuals.org.ua

(Some people have issue connecting. LEMON is investigating. For now, use Firefox or change your DNS server)

Or, hide this message: temporarily or permanently

Control Arm: Service and Repair

Suspension Control Arm/Bushings Removal and Installation

Removal
1. Remove coil spring.
2. Remove control arm bolts and nuts. Then remove suspension control arm.





3. Cut flange part (1) of control arm bush (rubber and steel) with using care not to damage control arm end surface.
Cutting part dimension (flange of control arm bush)
"A": Approximately 6 mm (0.236 inch)





4. Place control arm and special tool on hydraulic press. Set control arm cutting flange to welded part (1) of the special tool and control arm joint side to the stepped part (2) of special tool.

CAUTION: Use special care in driving out control arm bush to press it vertically. Or it may cause personally injury.

Special tool
(A): 09951-46020





5. Remove front bushing by using hydraulic press (1) and special tools, pull out bushing.
Special tool
(A): 09951-46020
(B): 09924-74510
(C): 09951-16060





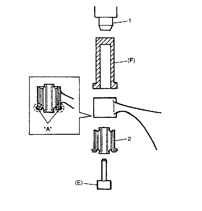
6. Remove rear bushing by using hydraulic press (1) and special tools, pull out bushing.
Special tool
(A): 09951-46020
(D): 09913-80112
(E): 09925-58210

Installation





1. Press-fit front bushing (2) until its flange contacts housing edge (A) of control arm, use special tools and hydraulic press (1) as shown in the figure.
Special tool
(C): 09951-16060
(F): 09913-85210

NOTE: When press-fitting bushing, compounding oil or soap water applied to inside of control arm housing will facilitate work.





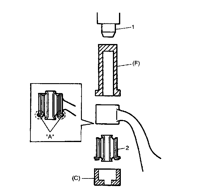
2. Press-fit rear bushing (2) until its flange contacts housing edge (A) of control arm, use special tools and hydraulic press (1) as shown in the figure.
Special tool
(E): 09925-58210
(F): 09913-85210

NOTE: When press-fitting bushing, compounding oil or soap water applied to inside of control arm housing will facilitate work.





3. Install control arm to chassis.
Tighten suspension arm nuts to specified torque after lowering hoist and vehicle in non-loaded condition.
Tightening torque
Front suspension arm nut (a): 85 Nm (8.5 kgf-m, 61.5 ft. lbs.)
Front suspension arm nut (b): 100 Nm (10.0 kgf-m, 72.5 ft. lbs.)

NOTE: Don't reuse front suspension arm nut (b).

4. As installation procedure hereafter is the same as that for coil spring.