Operation CHARM: Car repair manuals for everyone.
Manuals through 2025 now available!

Our trusted friends have launched a new website named LEMON, which has newer manuals. It also contains all the CHARM manuals.

LEMON is the spiritual successor to CHARM, I recommend you try it!

Link: lemon-manuals.la or lemon-manuals.org.ua

(Some people have issue connecting. LEMON is investigating. For now, use Firefox or change your DNS server)

Or, hide this message: temporarily or permanently

Extension Housing: Service and Repair

Extension Case (2WD Vehicle) Removal and Installation
Removal
1. Disconnect battery negative cable from battery.
2. Lift up vehicle and drain A/T fluid.
3. Remove rear propeller shaft from extension case.
4. Disconnect vehicle speed sensor connector.
5. Disconnect A/T output speed sensor connector.





6. Support transmission with a transmission jack (1). Try not to apply jack against oil pan as much as possible.
7. Remove rear mounting.
8. Remove extension case from transmission.

Installation
1. Clean mating surfaces of transmission and extension case.





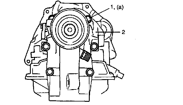
2. Confirm that fluid guide pipe (1) is installed into extension case properly.





3. Install new gasket and extension case (2) to transmission. Tighten bolts (1) to specified torque.
Tightening torque
Extension case bolt (a): 35 Nm (3.5 kgf-m, 25.5 ft. lbs.)
4. Install rear mounting and tighten bolts to specified torque.
5. Connect A/T output speed sensor connector.
6. Connect vehicle speed sensor connector.
7. Install rear propeller shaft.
8. Lower vehicle.
9. Add A/T fluid and check fluid level.
10. Connect battery negative (-) cable to battery.