Operation CHARM: Car repair manuals for everyone.
Manuals through 2025 now available!

Our trusted friends have launched a new website named LEMON, which has newer manuals. It also contains all the CHARM manuals.

LEMON is the spiritual successor to CHARM, I recommend you try it!

Link: lemon-manuals.la or lemon-manuals.org.ua

(Some people have issue connecting. LEMON is investigating. For now, use Firefox or change your DNS server)

Or, hide this message: temporarily or permanently

Unit Assembly

Unit Assembly





1. After applying A/T fluid to new O-rings, install them to reverse brake piston (3), reaction sleeve (2) and secondary reverse piston (1).





2. Install reverse brake piston assembly and brake piston return spring to transmission case, using care not to damage O-ring. Then install snap ring (1) with special tool.

NOTE:
^ Install so that opening in snap ring (1) will not align with any of 3 lugs of spring seat.
^ Do not compress spring more than necessary and do not allow it fall or tilt.

Special tool
(A): 09926-98320
(B): 09941-84510





3. Prepare a stand as shown. It is necessary because work will be done with transmission case set upright from this step on.

NOTE:
^ To protect transmission case against damage, spread cloth on stand where case contacts.
^ A stand of such size as shown in the figure will facilitate work.





4. Install thrust output shaft bearing and thrust bearing output shaft race after lubricating them with grease.

NOTE: Make sure that thrust bearing output shaft race is installed in proper direction.





5. Install brake applying tube (1) so that its lug fits in a in transmission case. After installation, check that 4 lugs (3) along the underside of brake applying tube fit inside of reverse brake piston and leaf spring (2) is installed properly.





6. Remove reverse brake reaction plate of planetary gear assembly and align lugs of reverse brake plate, reverse brake disc and reverse brake packing plate. Install planetary gear assembly to transmission case so that aligned lugs fit in groove in transmission case.





7. Measure clearance between reverse brake plate and lugs of transmission case. If measured value is less than standard range, it is possible that something is installed improperly or dust or fluid is on reverse brake disc, etc. If it exceeds standard range, replace reverse brake disc, reverse brake plate or reverse brake backing plate.
Standard clearance between reverse brake plate and lugs of transmission case 0.61 - 2.64 mm (0.024 - 0.104 inch)





8. Install reverse brake reaction plate so that its lug with dent comes to the same position as leaf spring.





9. Using screwdriver with vinyl tape or the like wound at its tip, install retaining reaction plate ring (1). After installation, check that ring is in groove securely.





10. After confirming that lugs of all brake plates and brake discs are in grooves securely, hold retaining direct clutch ring (1) of planetary sun gear, install center support assembly by aligning fluid holes (2) in center support and transmission case.

NOTE: Unless retaining direct clutch ring of planetary sun gear is held, brake valve gets off center support and that will make it impossible to align fluid holes with bolt holes.





11. Tighten center support bolts by certain amount at a time till specified tightening torque is obtained.
Tightening torque
Center support bolt: 26 Nm (2.6 kgf-m, 19.0 ft. lbs.)





12. Install direct clutch assembly by aligning splines in direct clutch cylinder with planetary sun gear.

NOTE: Ends of splines in direct clutch cylinder and planetary sun gear should come almost in match.





13. Apply grease to forward clutch rear No. 1 race (1), thrust rear bearing (2), thrust bearing rear planetary ring race (3) and install thrust bearing planetary ring race (3) to direct clutch cylinder and forward clutch rear No. 1 race and thrust bearing to forward clutch hub.





14. Install forward clutch assembly by putting all lugs of direct clutch disc hub together and matching them with groove cut in direct clutch input hub, and at the same time aligning splines in forward clutch hub with inner shaft.

NOTE: Use care not to let forward clutch rear No. 1 race and thrust bearing installed to forward clutch hub fall off.





15. When clutch disc and plate have been replaced, check height difference between forward clutch input shaft and transmission case (1) by measuring as shown in the figure.

NOTE: If measured value is less than standard value, remove forward clutch assembly and install it again.

Standard height difference between forward clutch input shaft and transmission case "a": About 2.0 mm (0.079 inch)





16. Apply grease to thrust forward clutch bearing and install it to forward clutch input shaft. Also apply grease to thrust rear race and install it to O/D case.





17. Install O/D case by aligning cutout in O/D case (1) and that in transmission case.

NOTE: Use care not to drop thrust rear race installed to O/D case.





18. Apply grease to thrust planetary rear washer and install it to O/D planetary gear. Also apply grease to thrust planetary ring front race and install it to planetary ring gear and then install O/D input shaft assembly to O/D case.

NOTE:
^ Fit claws of thrust planetary rear washer and thrust planetary ring front race into holes securely.
^ Use care not to drop thrust planetary rear washer installed to O/D planetary gear.





19. When clutch disc or plate has been replaced, check height difference between O/D case and O/D clutch cylinder by measuring it as shown in the figure.

NOTE: Measure at the highest point along inner circumference of O/D clutch cylinder.

Standard height difference between O/D case and O/D clutch cylinder "a": About 3.5 mm (0.138 inch)





20. Apply A/T fluid to new housing O-ring and install it to O/D case. Then install converter housing and tighten housing bolt to specified torque.
Tightening torque
Torque converter housing bolt (a): 35 Nm (3.5 kgf-m, 25.5 ft. lbs.)
Torque converter housing bolt (b): 58 Nm (5.8 kgf-m, 42.0 ft. lbs.)





21. Apply grease to thrust front race and install it to O/D clutch cylinder.





22. Apply grease to front bearing assembly and install it to oil pump assembly. Also, apply A/T fluid to new oil pump cover O-ring and install it to oil pump assembly. Then install oil pump assembly aligning bolt holes in O/D case with those in transmission case oil pump assembly. Apply seal packing to oil pump assembly bolts and tighten them by certain amount of torque at each time one after another till specified torque is attained.
Tightening torque
Oil pump bolt (a): 22 Nm (2.2 kgf-m, 16.0 ft. lbs.)





23. Apply 2 - 4 kgf/cm2 air pressure into fluid holes in the figure as numbered and check operation sound of each part.





24. Take down transmission from stand and measure clearance in shaft direction by applying dial gauge to output shaft as shown in the figure.
Standard clearance in shaft direction 0.3 - 0.9 mm (0.012 - 0.035 inch)
25. Check that inner shaft runs smoothly.





26. Install parking lock pawl (1), pawl pin (2) and pawl spring (3) to transmission case.





27. Apply grease to lip of new oil lip seal and drive in oil lip seal with special tool till it contacts transmission case.
Special tool
(A): 09943-88211





28. After installing new sleeve cover to manual shift lever (1), install manual shift shaft (2) and manual shift lever (1) to transmission case.





29. Align hole in manual shift shaft with that in manual shift lever and drive in new manual shift lever pin (1).





30. Align hole in sleeve cover with dent in manual shift lever and caulk securely with pin punch (1). Then check that manual shift shaft turns smoothly.





31. With parking lock rod (1) installed to manual shift lever, place parking lock rod (1) on parking lock pawl (2) as shown in the figure. Then install pawl bracket and tighten bracket screw to specified torque.
Tightening torque
Pawl bracket screw: 7.5 Nm (0.75 kgf-m, 5.5 ft. lbs.)





32. Apply A/T fluid to new throttle cable O-ring (2) and install it to throttle cable then connect throttle cable (1) to transmission case (3).

NOTE: Do not turn transmission case toward position where throttle cable is connected so as to protect retainer of throttle cable.

33. Apply A/T fluid to new O-ring and spring and install them to accumulator piston and install accumulator piston to transmission case.








Accumulator piston and spring specification





34. Lift valve body a little and install nipple of throttle cable to throttle valve cam.





35. After confirming that accumulator piston is pushed all the way down, match pin of manual shift lever with groove in manual valve.





36. Fix valve body by using bolts with each nominal length as indicated in the figure and tightening to specified torque.
Tightening torque
Valve body bolt: 10 Nm (1.0 kgf-m, 7.5 ft. lbs.)
Valve body bolt nominal length
"a": 25 mm (0.98 inch)
"b": 30 mm (1.18 inch)
"c": 47 mm (1.85 inch)
"d": 60 mm (2.36 inch)
37. Install new gaskets, oil screen spacer and oil screen.
Tightening torque
Oil screen bolt: 5.5 Nm (0.55 kgf-m, 4.0 ft. lbs.)





38. Lubricate new O-ring with A/T fluid and attach it to grommet of solenoid wire harness. Then connect solenoid wire harness to transmission case and fix it with solenoid wire harness clamp. Connect each connector to solenoid. And install new gasket and brake applying cover.
Tightening torque
Brake applying cover bolt: 10 Nm (1.0 kgf-m, 7.5 ft. lbs.)





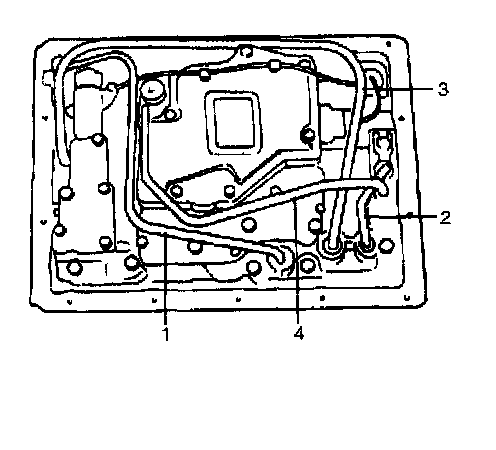
39. Using a plastic hammer, connect forward clutch applying tube (1), lube applying tube (2), reverse brake applying tube (3) and brake applying tube (4) in such order as shown in the figure.





40. Install 2 oil pan magnets to transmission oil pan in such way that they do not interfere with oil tubes and install transmission oil pan with new oil pan gasket.

NOTE: Align cutout in oil pan gasket with that in transmission case.

Tightening torque
Transmission oil pan bolt: 4.5 Nm (0.45 kgf-m, 3.5 ft. lbs.)





41. With wood rough key attached to output shaft, install sensor rotor by aligning its key groove with wood rough key and install C-ring by using special tool.
Special tool
(A): 09920-76010





42. Install adapter case (1) with new adapter gasket to transmission case and tighten adapter case bolts to specified torque.
Tightening torque
Adapter case bolt (a): 42 Nm (4.2 kgf-m, 30.0 ft. lbs.)





43. Apply A/T fluid to new O-ring and install it to vehicle speed sensor (1) and then install vehicle speed sensor (1) to adapter case (2).
44. After turning manual shift shaft fully rearward, turn it back by 2 notches and set it to "N" range. Then install shift switch, lock washer and set nut and tighten set nut. After tightening it, bend claws of lock washer.
Tightening torque
Manual shift shaft set nut (a): 4 Nm (0.4 kgf-m, 3.0 ft. lbs.)





45. With neutral reference line (1) and cut groove (2) in switch aligned, tighten lock bolt.
Tightening torque
Shift switch lock bolt (b): 5.5 Nm (0.55 kgf-m, 4.0 ft. lbs.)
46. Confirm that torque converter is fully fitted in transmission. Confirmation can be done by measuring dimension between end surface of housing case (2) and drive plate installation seat.
Standard dimension between end surface of case housing and drive plate installation seat "a" 17.4 mm (0.69 inch)





47. Check that torque converter turns smoothly and apply grease to center piece (1) of torque converter.