Operation CHARM: Car repair manuals for everyone.
Manuals through 2025 now available!

Our trusted friends have launched a new website named LEMON, which has newer manuals. It also contains all the CHARM manuals.

LEMON is the spiritual successor to CHARM, I recommend you try it!

Link: lemon-manuals.la or lemon-manuals.org.ua

(Some people have issue connecting. LEMON is investigating. For now, use Firefox or change your DNS server)

Or, hide this message: temporarily or permanently

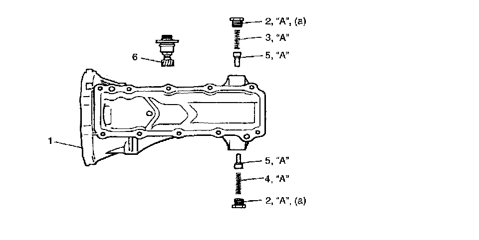
Extension Housing: Service and Repair

Disassembly
1. Remove oil seal from extension case (1).
2. Remove select return spring bolts (2) and then select return springs (3, 4) and select guide pins (5).
3. Remove speed sensor assembly (6).

Reassembly
1. Install oil seal.
2. After applying grease, install select guide pins (5), select return springs (3, 4) and spring bolts (2) and torque them to specification.
"A": Grease 99000-25010
Tightening torque
Select return spring bolt (for 2WD model) (a): 23 Nm (2.3 kgf-m, 17.0 ft. lbs.)
3. After installing, check to make sure that each pin moves smoothly.





4. Install speedometer driven gear case assembly to extension case (1).