Operation CHARM: Car repair manuals for everyone.
Manuals through 2025 now available!

Our trusted friends have launched a new website named LEMON, which has newer manuals. It also contains all the CHARM manuals.

LEMON is the spiritual successor to CHARM, I recommend you try it!

Link: lemon-manuals.la or lemon-manuals.org.ua

(Some people have issue connecting. LEMON is investigating. For now, use Firefox or change your DNS server)

Or, hide this message: temporarily or permanently

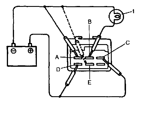
Rear Defogger Timer Relay




Rear Defogger Timer Relay Inspection
1. Disconnect rear defogger timer relay.
2. Connect (+) wire and (-) wire of 12 V battery to terminal "A", "B", "C", "D", and "test light (12 V, 3.4 W) (1)" as shown in figure.
3. Connect (-) wire of 12 V battery to terminal "E" and check if test light (1) come on.
4. After 10 minutes, if test light go out, it means that timer relay is operating.