Operation CHARM: Car repair manuals for everyone.
Manuals through 2025 now available!

Our trusted friends have launched a new website named LEMON, which has newer manuals. It also contains all the CHARM manuals.

LEMON is the spiritual successor to CHARM, I recommend you try it!

Link: lemon-manuals.la or lemon-manuals.org.ua

(Some people have issue connecting. LEMON is investigating. For now, use Firefox or change your DNS server)

Or, hide this message: temporarily or permanently

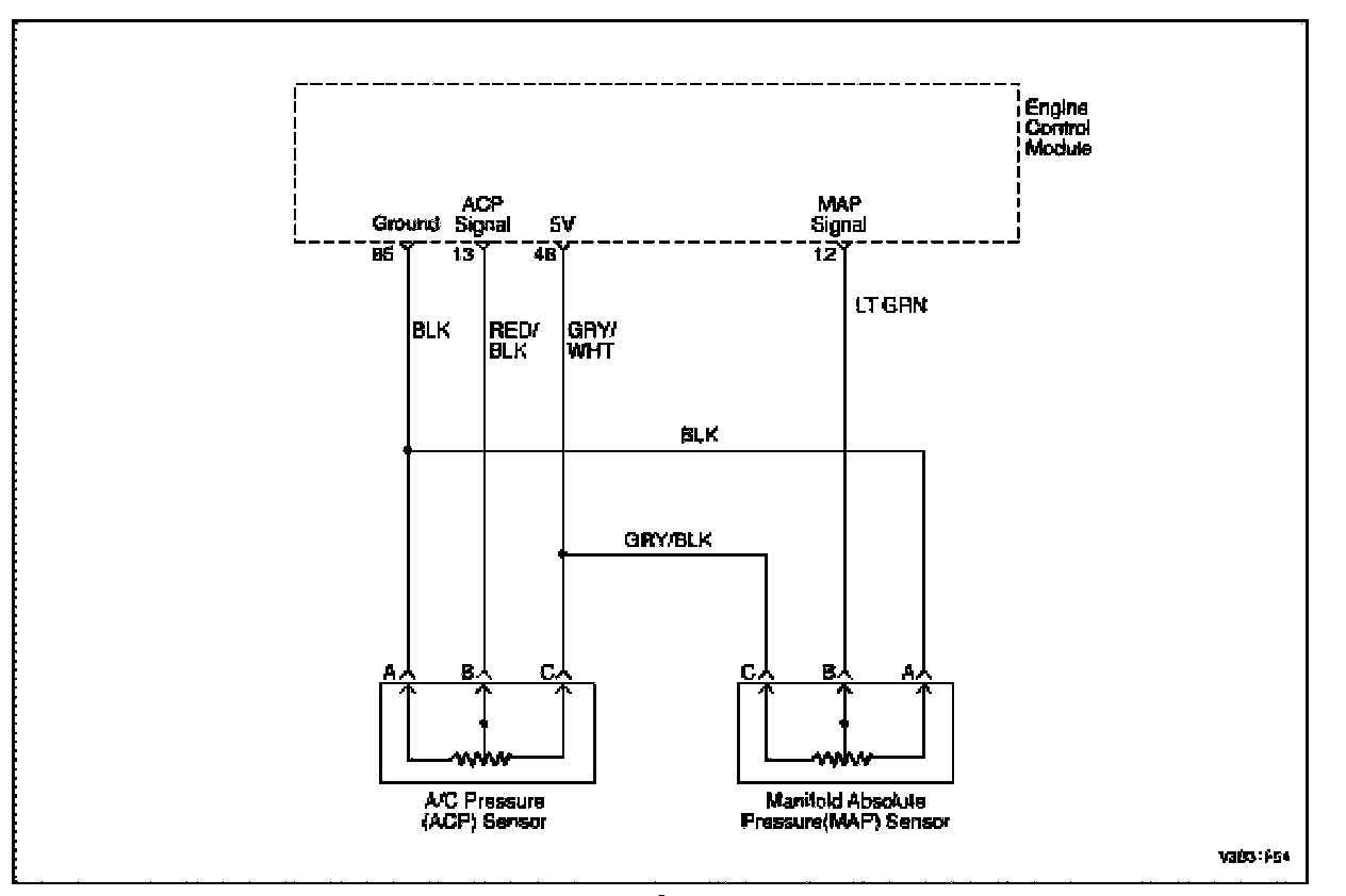
Manifold Pressure/Vacuum Sensor: Testing and Inspection

Manifold Absolute Pressure Check

Wiring Diagram:




Step 1 - 2:




Step 3 - 5:




Circuit Description

The Manifold Absolute Pressure (MAP) sensor measures the changes in the intake manifold pressure which result from engine load (intake manifold vacuum) and rpm changes. The MAP sensor converts these changes into a voltage output. The Engine Control Module (ECM) sends a 5-volt reference voltage to the MAP sensor. As the intake manifold pressure changes, the output voltage of the MAP sensor also changes. A low voltage (high vacuum) output of 1 to 2 volts is present at idle. A high voltage (low vacuum) output of 4.0 to 4.8 volts is present at wide open throttle. The MAP sensor is also used under certain conditions to measure barometric pressure. This allows the ECM to make adjustments for altitude changes. The ECM uses the MAP sensor for fuel delivery and ignition timing changes.