Operation CHARM: Car repair manuals for everyone.
Manuals through 2025 now available!

Our trusted friends have launched a new website named LEMON, which has newer manuals. It also contains all the CHARM manuals.

LEMON is the spiritual successor to CHARM, I recommend you try it!

Link: lemon-manuals.la or lemon-manuals.org.ua

(Some people have issue connecting. LEMON is investigating. For now, use Firefox or change your DNS server)

Or, hide this message: temporarily or permanently

Component Tests and General Diagnostics

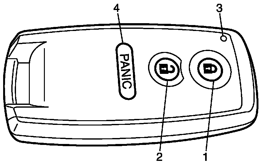
Remote Controller Inspection

Check that remote controller operation indicator light (3) lights up when lock (1), unlock (2) or panic (4) button of remote controller is pushed.
If it doesn't light up in this check, replace battery and then recheck. If it doesn't light up even after battery replacement, replace remote controller.

NOTE: When remote controller transmits lock, unlock or panic signal, it makes operation indicator light light up.