Operation CHARM: Car repair manuals for everyone.
Manuals through 2025 now available!

Our trusted friends have launched a new website named LEMON, which has newer manuals. It also contains all the CHARM manuals.

LEMON is the spiritual successor to CHARM, I recommend you try it!

Link: lemon-manuals.la or lemon-manuals.org.ua

(Some people have issue connecting. LEMON is investigating. For now, use Firefox or change your DNS server)

Or, hide this message: temporarily or permanently

Less Advanced Air Bag System

SDM Removal and Installation

WARNING:
- During service procedures, be very careful when handling a Sensing and Diagnostic Module (SDM).
- Be sure to read Precautions on Service and Diagnosis of Air Bag System:Except Advanced Air Bag before starting to work and observe every precaution during work. Neglecting them may result in personal injury or inactivation of the air bag system when necessary.


Removal
1. Disconnect negative (-) cable at battery.
2. Disable air bag system referring to Disabling Air Bag System:Except Advanced Air Bag.
3. Remove console rear panel referring to Console Box Components.
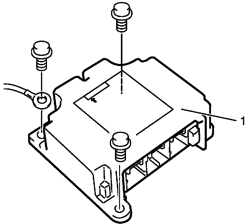
4. Disconnect SDM connector (1) from SDM (2).






5. Remove SDM (1) from vehicle.






Installation
Reference: SDM Inspection:Except Advanced Air Bag
1. Check that none of the following faulty conditions exists.
- Bend, scratch, deformity in vehicle body where SDM is mounted.
- Foreign matter or rust on mating surface of vehicle body where SDM is mounted.

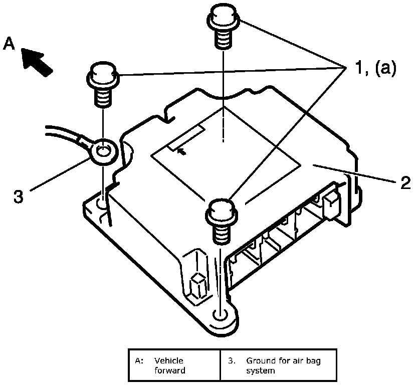
2. Install SDM (2) to vehicle.

CAUTION: Ensure that arrow on the SDM is pointing toward the front of the vehicle.

3. Tighten SDM bolts (1) to specified torque.

Tightening torque
SDM bolt (a): 6 N.m (0.6 kg.m, 4.5 lbf.ft)






4. Connect SDM connector (1) to SDM (2) securely.






5. Install console rear panel.
6. Enable air bag system referring to Enabling Air Bag System:Except Advanced Air Bag.
7. Connect negative (-) cable at battery.