Operation CHARM: Car repair manuals for everyone.
Manuals through 2025 now available!

Our trusted friends have launched a new website named LEMON, which has newer manuals. It also contains all the CHARM manuals.

LEMON is the spiritual successor to CHARM, I recommend you try it!

Link: lemon-manuals.la or lemon-manuals.org.ua

(Some people have issue connecting. LEMON is investigating. For now, use Firefox or change your DNS server)

Or, hide this message: temporarily or permanently

System Specifications

Torque Specifications

Engine Torque Sheet





Cylinder Head Torque and Sequence

Step 1 53 Nm (5.3 kgf-m, 38.5 ft. lbs.)
Step 2 84 Nm (8.4 kgf-m, 61.0 ft. lbs.)
Step 3 (in reverse order) 0 Nm (0 kgf-m, 0 ft. lbs.)
Step 5 53 Nm (5.3 kgf-m, 38.5 ft. lbs.)
Step 6 105 Nm (10.5 kgf-m, 76.0 ft. lbs.)

Cylinder head bolt (hex hole bolt) 11 Nm (1.1 kgf-m, 7.5 ft. lbs.)





Cylinder Head Bolt Reuse

Manufacturer does not specify the need to use new bolts

Intake Manifold Torque and Sequence

No specification or sequence given

Camshaft Bearing Cap Torque and Sequence

Camshaft Housing Bolts 11 Nm (1.1 kgf-m, 7.5 ft. lbs.)





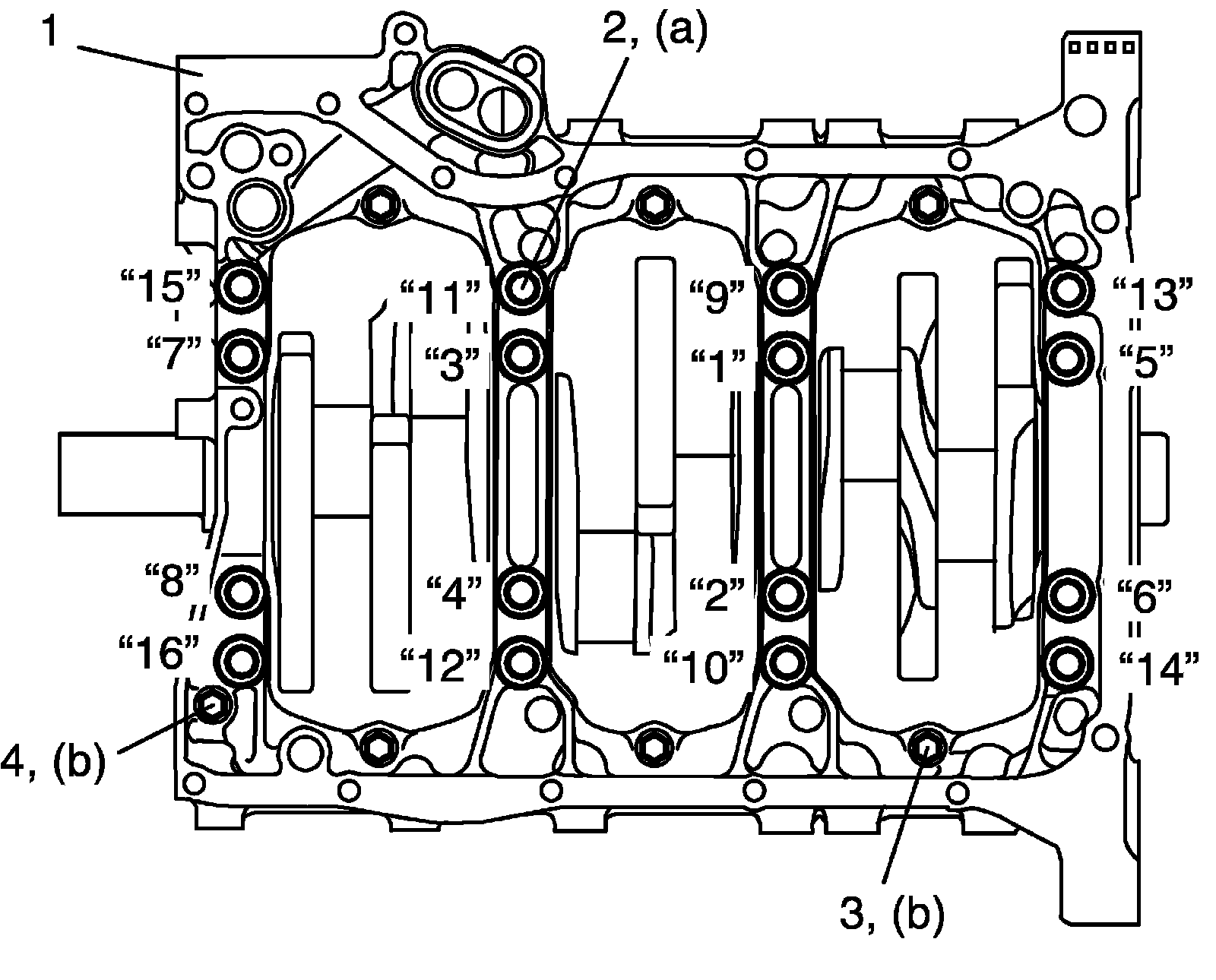
Main Bearing Cap Torque and Sequence

Lower crankcase bolt (10 mm (0.39 in.) thread diameter)
Step 1 30 Nm (3.0 kgf-m,22.0 ft. lbs.)
Step 2 0 Nm (0 kgf-m, 0 ft. lbs.)
Step 3 42 Nm (4.2 kgf-m, 30.5 ft. lbs.) and 40°
Lower crankcase bolt (8 mm (0.31 in.) thread diameter) 27 Nm (2.7 kgf-m,19.5 ft. lbs.)





Connecting Rod Bearing Cap Torque and Sequence

Connecting Rod Bolt 15 Nm (1.5 kgf-m, 11 ft. lbs.) +45° and 45°

Crankshaft Pulley Torque

Crankshaft Pulley Bolt 150 Nm (15 kgf-m, 108.5 ft. lbs.)

Flywheel/Flex Plate Torque and Sequence

Flywheel (or driveplate) Bolt 70 Nm (7 kgf-m, 51 ft. lbs.)

Oil Pump Torque

Oil Pump Bolt 12 Nm (1.2 kgf-m, 9.0 ft. lbs.)

Exhaust Manifold Torque and Sequence

Exhaust Manifold Stiffener Bolt 30 Nm (3.0 kg-m, 21.5 ft. lbs.)
Exhaust No.1 Pipe Bolt And Nut 50 Nm (5.0 kg-m, 36.5 ft. lbs.)

Water Pump Torque and Sequence

Water Pump Bolt 25 Nm (2.5 kgf-m, 10.0 ft. lbs.)