Operation CHARM: Car repair manuals for everyone.
Manuals through 2025 now available!

Our trusted friends have launched a new website named LEMON, which has newer manuals. It also contains all the CHARM manuals.

LEMON is the spiritual successor to CHARM, I recommend you try it!

Link: lemon-manuals.la or lemon-manuals.org.ua

(Some people have issue connecting. LEMON is investigating. For now, use Firefox or change your DNS server)

Or, hide this message: temporarily or permanently

Generator Disassembly and Assembly

Generator Disassembly and Assembly

Reference: Generator Dismounting and Remounting
Reference: Generator Components

Disassembly
1. Put match marks at 2 locations (A (front housing (1) and stator (2)) and B (rear housing (3) and stator (2))) as shown in figure so that any possible mistake can be avoided.






2. Loosen frame bolt (1).






3. Remove front housing with rotor (1) from stator (2).






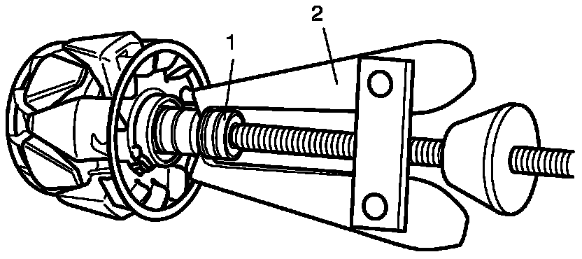
4. Hold rotor by using vise (2) and loosen pulley nut and then remove pulley (1).

CAUTION: When using vise, put clean cloth (3) and aluminium plate (5) between rotor (4) and vise (2) so as not to cause damage to rotor.






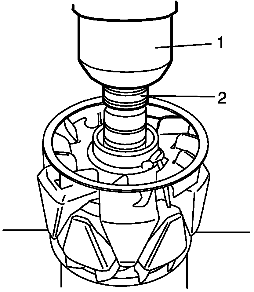
5. If required, remove drive end bearing.
a. Loosen retainer screw (1) and then remove retainer.






b. Push out drive end bearing by using hydraulic press (1) and special tool.
Special Tool
(A): 09943-88211






6. If required, use bearing puller (2) to remove rear end bearing (1).






7. Loosen screw (1) and then remove stator (2) from rear housing.






8. Remove cap (1).
9. Loosen "B" terminal nut and then remove insulator (2).






10. Loosen screw (1) and then regulator assembly (2).
11. Loosen screw (3) and then remove rectifier (4).






Assembly
Reference: Generator Inspection
Reference: Generator Components

1. Install rectifier (4) to rear housing and then tighten screw (3).
2. Install regulator assembly (2) to rear housing and then tighten screw (1).






3. Install insulator (2) and then tighten "B" terminal nut to specified torque.
Tightening torque
"B" terminal nut : 9 N.m (0.9 kg.m, 7.0 lbf.ft)

4. Install cap (1) to insulator (2).






5. Depress brush and then while holding it depressed, and insert pin (1) to hole of rear housing (2).






6. Install stator (2) to rear housing by aligning match marks provided before removal and then tighten screw (1).






7. If rear end bearing (2) is removed, install it by using hydraulic press (1).






8. If drive end bearing is removed, install it.
a. Press-fit drive end bearing by using hydraulic press (1) and special tool.
Special Tool
(A): 09913-76010






b. Install retainer and then tighten retainer screw (1).






9. Insert stator to front housing and install pulley and pulley nut.
10. Hold rotor by using vise (1) and tighten pulley nut to specified torque.

CAUTION: When using vise, put clean cloth (2) and aluminium plate (3) between rotor (4) and vise (1) so as not to cause damage to rotor.

Tightening torque
Pulley nut: 118 N.m (11.8 kg.m, 85.5 lbf.ft)






11. Install front housing with rotor (1) to stator (2) by aligning match marks provided before removal and then tighten frame bolt (3) to specified torque.

Tightening torque
Frame bolt (a): 4 N.m (0.4 kg.m, 3.0 lbf.ft)






12. Remove pin (1) from rear housing (2).






13. Make sure that rotor turns smoothly.