Operation CHARM: Car repair manuals for everyone.
Manuals through 2025 now available!

Our trusted friends have launched a new website named LEMON, which has newer manuals. It also contains all the CHARM manuals.

LEMON is the spiritual successor to CHARM, I recommend you try it!

Link: lemon-manuals.la or lemon-manuals.org.ua

(Some people have issue connecting. LEMON is investigating. For now, use Firefox or change your DNS server)

Or, hide this message: temporarily or permanently

Generator Inspection

Generator Inspection

Reference: Generator Dismounting and Remounting
Reference: Generator Disassembly and Assembly

Rotor
- Using ohmmeter, check for continuity between slip rings of rotor. If there is no continuity, replace rotor.

Standard resistance between clip rings of rotor
2.0 - 2.3 ohms at 20 °C (68 °F)






- Using ohmmeter, check that there is no continuity between slip ring and rotor. If there is continuity, replace rotor.






Stator
- Check resistance between the following leads of stator. if there is no continuity, replace stator.









- Using ohmmeter, check that there is no continuity between coil leads (1) and stator core (2). If there is continuity, replace stator.






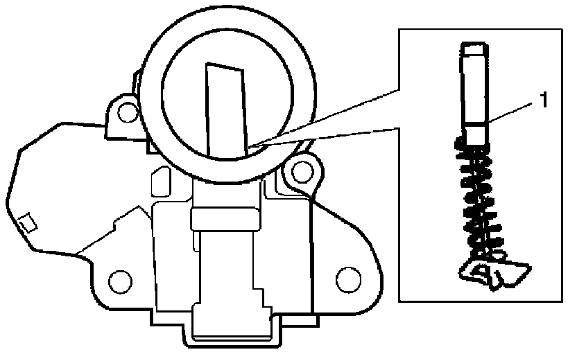
Brush and Brush Holder
Check each brush for wear by measuring its length as shown. Replace the brush if the brush is found worn down to service limit line (1).






Rectifier

Positive rectifier
1. Using an ohmmeter, connect one tester probe to the "B" terminal (1) and the other to each rectifier terminal (2).
2. Reverse the polarity of the tester probes and repeat Step 1).
3. Check that one shows continuity and the other shows no continuity. If there is continuity, replace the rectifier.






Negative rectifier
1. Using an ohmmeter, connect one tester probe to negative terminal (1) and the other to each rectifier terminal (2).
2. Reverse the polarity of the tester probes and repeat Step 1).
3. Check that one shows continuity and the other shows no continuity. If there is continuity, replace the rectifier.






Bearing
- Check that drive and bearing is not rough or worn.






- Check that end housing bearing is not rough or worn.