Operation CHARM: Car repair manuals for everyone.
Manuals through 2025 now available!

Our trusted friends have launched a new website named LEMON, which has newer manuals. It also contains all the CHARM manuals.

LEMON is the spiritual successor to CHARM, I recommend you try it!

Link: lemon-manuals.la or lemon-manuals.org.ua

(Some people have issue connecting. LEMON is investigating. For now, use Firefox or change your DNS server)

Or, hide this message: temporarily or permanently

Automatic Transmission Unit Assembly (Part 2)

50) Using vernier calipers, measure the thickness (length B) of the No.1 brake flanges, the No.1 brake plates and the No.1 brake discs altogether at the both end across a diameter, and calculate the average.
Pack Clearance
0.42 - 0.72 mm (0.017 - 0.028 in.)
^ Pack Clearance: Length A - Length B
Length B: 14.72 - 15.12 mm (0.58 - 0.595 in.)
51) If the pack clearance is out of specification, select another flange with suitable thickness from the list below and replace it.

Available No.1 brake flange thickness








52) Install one-way No.1 clutch assembly (1) and planetary carrier thrust washer No.1 (2) to transmission case.

NOTE:
Make sure projection part of planetary carrier thrust washer No.1 fit into holes of one-way No.1 clutch inner race.





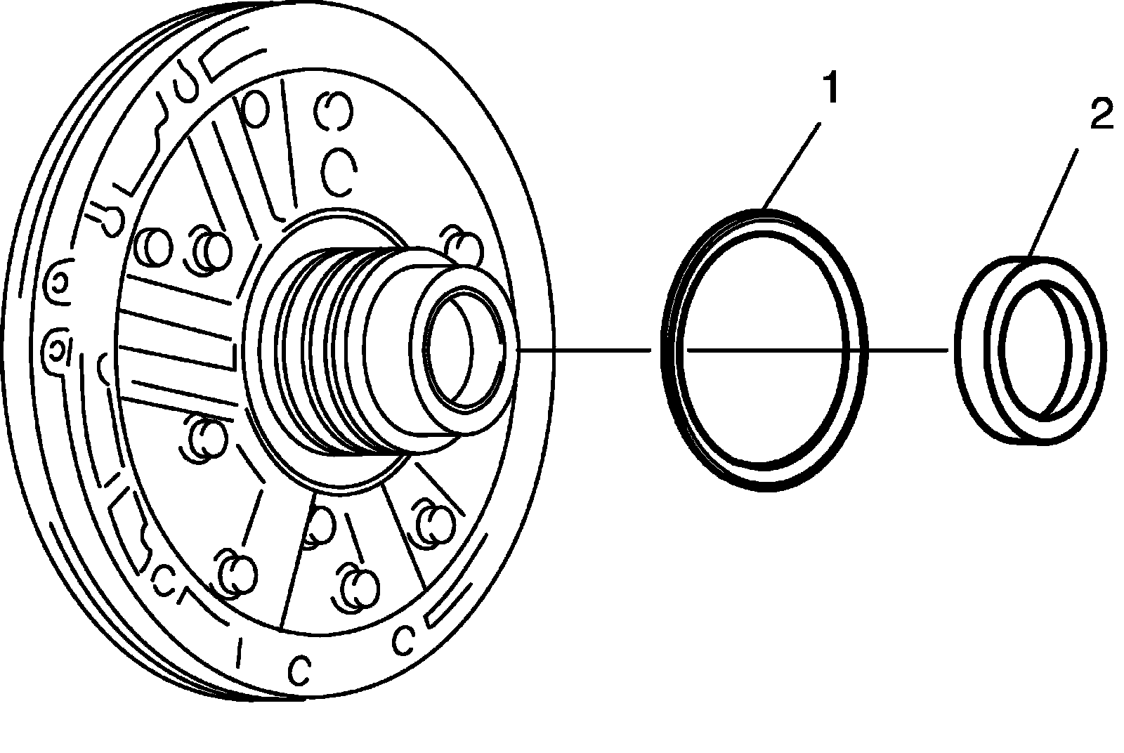
53) After applying A/T fluid to new 2 O-rings (1) and then install O-rings to 2nd (No.3) brake piston (2).
54) Install 2nd (No.3) brake piston to 2nd (No.3) brake cylinder (3).

CAUTION:
Do not twist or deviate O-ring during installation.






55) Place 2nd (No.3) brake piston return spring (1) on 2nd (No.3) brake piston.
56) Compress 2nd (No.3) brake piston return spring (1) until the 2nd (No.3) brake piston return spring is lowered to the place 1 - 2 mm (0.039 - 0.078 in.) from the snap ring groove by using special tool.

CAUTION:
Be careful when applying pressure, for overpressure will cause plate section of 2nd (No.3) brake return spring to deform.


Special Tool
(A):09927-66540
57) Place snap ring (2) on 2nd (No.3) brake piston return spring retainer being sure not to align snap ring end gap with spring retainer claw.





58) Install 2nd (No.3) brake piston (1) including 2nd (No.3) brake cylinder (2) to transmission case.





59) Install snap ring (1) by using special tool being sure not to align snap ring end gap with cut portion of transmission case.
Special Tool
(A):09900-06108





60) Fit clutch hub thrust washer (1)to one-way No.2 clutch assembly (2) with petroleum jelly so that clutch hub thrust washer (1) does not fall off.
61) Install clutch hub thrust washer (1) and one-way No.2 clutch assembly (2) to transmission case.

NOTE:
Make sure projection part of clutch hub thrust washer fit into holes of one-way No.2 clutch assembly.





62) Install 2nd (No.3) brake cushion plate (1), 2nd (No.3) brake plates "P" and 2nd (No.3) brake discs "D".
P - D - P - D - P - D - P - D
63) Install 2nd (No.3) brake flange "F".





64) Install snap ring (1) by using flat end rod or the like being sure not to align snap ring end gap with cut portion of transmission case.





65) Fit clutch drum thrust washer No.2 (1) to clutch dram and input shaft assembly with petroleum jelly so that clutch drum thrust washer No.2 (1) does not fall off.

NOTE:
Make sure projection part of clutch drum thrust washer No.2 fit into holes of reverse clutch hub.

66) Install thrust needle roller bearing No.1 (2) and thrust needle roller bearing No.2 (3) clutch dram and input shaft assembly.





67) Install clutch dram and input shaft assembly (1) to transmission case.





68) After applying petroleum jelly to thrust bearing race No.1 (1) and thrust bearing race No. 2 (2) so that bearing race does not fall off, install it to oil pump assembly.





69) After applying A/T fluid to new O-ring (1) and then install O-ring to oil pump assembly (2).





70) Install oil pump assembly aligning bolt holes in transmission case with oil pump assembly.
Apply seal packing 10 to oil pump bolts and tighten them by certain amount of torque at each time one after another till specified torque is attained.
Tightening torque
Oil pump bolt (a): 21 Nm (2.1 kg-m, 15.0 ft. lb.)
"A": Sealant 99000-31230 (SUZUKI Bond No.1216B)

NOTE:
Make sure input shaft rotates smoothly.





71) Install new 2 manual shift shaft oil seals (1)to transmission case by using special tools.
Special Tool
(A):09917-98221
(B):09916-57330





72) Apply compressed air (392 kPa, 4.0 kg/cm2, 57 psi) into oil holes indicated in the figure. If there is no noise, disassemble and check installation condition of parts.
^ When inspecting 1st & reverse (No.4) brake, check oil hole (8) closed.








73) Install a new spacer (1)to manual shift lever (2).
74) Install manual shift shaft (2) to transmission case through manual shift lever.





75) Drive in manual shift lever pin (1) by using hammer.





76) Align hole in sleeve cover with dent in manual shift lever and caulk securely with pin punch (1). Then check that manual shift shaft turns smoothly.





77) Install parking lock pawl (2) parking pawl pin (1) and parking pawl spring (3).





78) Connect parking lock rod (2) to manual shift lever (1) as shown in the figure.





79) Install parking lock pawl bracket (1).
Tighten parking pawl bracket bolts (2) to specified torque.
Tightening torque
Parking pawl bracket bolt (a): 7.4 Nm (0.74 kg-m, 5.5 ft. lb.)





80) Turn manual shift lever (1) to "P" position, confirm that rear planetary ring gear (2) is correctly locked up by parking lock pawl (3).





81) After applying A/T fluid to new O-rings and then install O-rings to accumulator pistons.
82) Install springs to transmission case.

Accumulator piston spring specification











83) Install spring (2) and check ball body (1)to transmission case.





84) Install new brake drum gaskets (1).





85) Install new transmission case gaskets (1).





86) Align the groove of manual valve with pin of lever (1).
87) Install valve body assembly (2) by using bolts noting their length shown below.
Tightening torque
Valve body bolt (a): 11 Nm (1.1 kg-m 8.0 ft. lb.)

Valve body bolt length





88) Install spring plate (3) and manual shift lever spring (4).





89) After applying A/T fluid to new O-ring and then install transmission wire connector (2).
Tighten transmission wire connector bolt (1) to specified torque.
Tightening torque
Transmission wire connector bolt (a): 5.5 Nm (0.55 kg-m, 4.0 ft. lb.)





90) Install transmission fluid temperature sensor (1).
91) Install clamp bolt (a) and (b) (if removed) to specified torque.
Tightening torque
Clamp bolt (a): 11 Nm (1.1 kg-m, 8.0 ft. lb.)
Transmission fluid temperature sensor clamp bolt (b): 10 Nm (1.0 kg-m, 7.0 ft. lb.)

Clamp bolt length





Transmission fluid temperature sensor harness color








92) Connect pressure control solenoid-A connector (1), pressure control Solenoid-B connector (2), shift solenoid-A connector (3), shift solenoid-B connector (4), shift solenoid-E connector (5), TCC solenoid connector (6) and pressure control solenoid-C connector (7) to each solenoid valve.

Shift solenoid valve harness color








93) After applying A/T fluid to new O-ring and then install O-ring to oil strainer.
94) Install oil strainer (1) to valve body assembly. Tighten 4 oil strainer bolts to specified torque.
Tightening torque
Oil strainer bolt (a): 10 Nm (1.0 kg-m 7.0 ft. lb.)





95) Install 4 transmission magnets (1).





96) Install a new gasket to oil pan.
97) Install oil pan to transmission case.
Tighten 20 oil pan bolts (1) to specified torque.
Tightening torque
Oil pan bolt (a): 4.5 Nm (0.45 kg-m 3.5 ft. lb.)
98) Install drain plug (2).
Tighten drain plug to specified torque.
Tightening torque
Drain plug (b): 20 Nm (2.0 kg-m 14.5 ft. lb.)





99) Install new oil seal (if removed) to transmission adapter case by using special tool and hammer.
Special Tool
(A):09913-75520





100) Apply sealant continuously to transmission case adapter sub assembly (1) mating surface as shown in figure.
"A": Sealant 99000-31230 (SUZUKI Bond No.1216B)





101) Install transmission case adapter sub assembly (1) to transmission case. Tighten 8 transmission case adapter sub assembly bolts to specified torque.

NOTE:
Make sure to use new transmission case adapter sub assembly bolts.

Tightening torque
Transmission case adapter sub assembly bolt (a): 34 Nm (3.4 kg-m, 24.5 ft. lb.)








102) Clean threads of automatic transmission housing bolts and bolt holes of transmission case, install automatic transmission housing (1) to transmission case. Tighten 10 automatic transmission housing bolts to specified torque.

NOTE:
Make sure to use new converter housing bolts (2) and (3).

Tightening torque
Automatic transmission housing bolt (a): 57 Nm (5.7 kg-m, 41.5 ft. lb.)
Automatic transmission housing bolt (b): 34 Nm (3.4 kg-m, 24.5 ft. lb.)





103) After applying A/T fluid to new O-ring and then install automatic transmission breather pipe (1).
104) Install automatic transmission breather hose.
Tightening 2 automatic transmission breather pipe bolts to specified torque.
Tightening torque
Automatic transmission breather pipe bolt (a): 5.5 Nm (0.55 kg-m, 4.0 ft. lb.)





105) After applying A/T fluid to new O-rings and then install them to output shaft speed sensor (1) and input shaft speed sensor (2).
106) Install output shaft speed sensor (1) and input shaft speed sensor (2).
Tighten transmission speed sensor bolts to specified torque.
Tightening torque
Transmission speed sensor bolt (a): 5.5 Nm (0.55 kg-m, 4.0 ft. lb.)





107) Apply A/T fluid to new 4 union gaskets and then install oil cooler pipes (1).
Tighten 2 oil cooler pipe union bolts to specified torque.
Tightening torque
Oil cooler pipe union bolt (a): 25 Nm (2.5 kg-m, 18.0 ft. lb.)





108) Install transmission range sensor (1) and tighten transmission range sensor bolt (4) temporarily.
109) Install grommet, lock washer (2) and nut (3).
Tighten nut to specified torque. After tightening it, bend claws of lock washer.
Tightening torque
Manual shift shaft nut (a): 7 Nm (0.7 kg-m, 5.0 ft. lb.)
110) After turning manual lever shaft fully counterclockwise, turn it clockwise by 2 notches and set it to "N" range.
111) With neutral reference line (5) and groove (6) in transmission range sensor aligned.
Tighten transmission range sensor bolt (4) to specified torque.
Tightening torque
Transmission range sensor bolt (b): 13 Nm (1.3 kg-m, 9.5 ft. lb.)





112) Install manual select lever (1).
Tighten manual select laver nut (2) to specified torque.
Tightening torque
Manual select lever nut (a): 12.5 Nm (1.25 kg-m, 9.0 ft. lb.)





113) Install torque converter (1) to input shaft.

CAUTION:
Install torque converter, using care not to damage oil seal lip of oil pump.