Operation CHARM: Car repair manuals for everyone.
Manuals through 2025 now available!

Our trusted friends have launched a new website named LEMON, which has newer manuals. It also contains all the CHARM manuals.

LEMON is the spiritual successor to CHARM, I recommend you try it!

Link: lemon-manuals.la or lemon-manuals.org.ua

(Some people have issue connecting. LEMON is investigating. For now, use Firefox or change your DNS server)

Or, hide this message: temporarily or permanently

Transmission Temperature Sensor/Switch: Service and Repair

Transmission Fluid Temperature Sensor Removal and Installation

Removal
1) Disconnect negative cable at battery.
2) Pull out fluid level gauge and lift up vehicle.
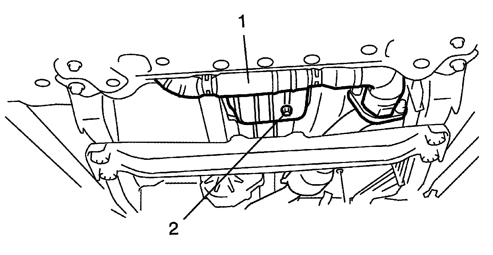
3) Remove exhaust No.1 pipe (1).
4) Remove drain plug (2) and drain A/T fluid.
5) Install drain plug (2).





6) Remove A/T oil pan (1).





7) Remove A/T oil strainer (1).





8) Remove transmission fluid temperature sensor (8).
9) Disconnect shift solenoid-A connector (1), shift solenoid-B connector (2), shift solenoid-E connector (3), TCC solenoid connector (4), Pressure control solenoid-A connector (5), Pressure control solenoid-B connector (6) and Pressure control solenoid-C connector (7).
10) Remove solenoid valves.





11) After removing bolt (1) pull out transmission wire connector (2) from transmission case.

CAUTION:
When pulling transmission wire harness out of transmission case, take care not to damage connectors and transmission fluid temperature sensor at narrow exist of case. Careless sensor treatment might cause sensor malfunction.






Installation
Remove removal procedure to install transmission fluid temperature sensor, noting the following points.
^ For details of solenoid valves and their connectors installation, refer to Automatic Transmission
Unit Assembly. Lb new O-ring
^ For details of A/T oil pan installation, refer to Automatic Transmission Unit Assembly.
^ Tighten exhaust No. 1 pipe bolts & nuts.
^ Fill A/T fluid and check fluid level.
^ Check for fluid leakage after warming up A/T.