Operation CHARM: Car repair manuals for everyone.
Manuals through 2025 now available!

Our trusted friends have launched a new website named LEMON, which has newer manuals. It also contains all the CHARM manuals.

LEMON is the spiritual successor to CHARM, I recommend you try it!

Link: lemon-manuals.la or lemon-manuals.org.ua

(Some people have issue connecting. LEMON is investigating. For now, use Firefox or change your DNS server)

Or, hide this message: temporarily or permanently

Procedures

Pistons, Piston Rings, Connecting Rods and Cylinders Inspection and Cleaning

Inspection

Cylinder
^ Inspect cylinder walls for scratches, roughness, or ridges which indicate excessive wear. If cylinder bore is very rough or deeply scratched, or ridged, rebore cylinder and use over size piston.
^ Using a cylinder gauge, measure cylinder bore in thrust and axial directions at two positions as shown in figure.
If any of following conditions is noted, rebore cylinder.

1. Cylinder bore diameter exceeds limit.
2. Difference of measurements at two positions exceeds taper limit.
3. Difference between thrust and axial measurements exceeds out-of-round limit.

Cylinder bore diameter
Standard: 84.000 - 84.020 mm (3.3070 - 3.3078 in.)
Limit: 84.050 mm (3.3090 in.)
Taper and out-of-round
Limit: 0.10 mm (0.004 in.)

NOTE: If any one of four cylinders has to be rebored, rebore all four to the same next oversize. This is necessary for the sake of uniformity and balance.








Pistons
^ Inspect piston for faults, cracks or other damages. Damaged or faulty piston should be replaced.
^ Piston diameter:
As indicated in figure, piston diameter should be measured at a position 26.5 mm (1.04 in.) ("a") from piston skirt end in the direction perpendicular to piston pin.

Piston diameter

Piston Diameter:








^ Piston clearance:
Measure cylinder bore diameter and piston diameter to find their difference which is piston clearance. Piston clearance should be within specification as follows. If it is out of specification, rebore cylinder and use oversize piston.

Piston clearance 0.02 - 0.04 mm (0.0008 - 0.0015 in.)

NOTE: Cylinder bore diameters used here are measured in thrust direction at two positions.

^ Ring groove clearance:
Before checking, piston grooves must be clean, dry and free of carbon. Fit new piston ring (1) into piston groove, and measure clearance between ring and ring land by using thickness gauge (2). If clearance is out of specification, replace piston.

Ring groove clearance

Ring Groove Clearence:








Piston pin
^ Check piston pin, connecting rod small end bore and piston bore for wear or damage, paying particular attention to condition of small end bore bush. If pin, connecting rod small end bore or piston bore is badly worn or damaged, replace pin, connecting rod or piston.
^ Piston pin clearance: Check piston pin clearance in small end. Replace connecting rod if its small end is badly worn or damaged or if measured clearance exceeds limit.

Piston pin clearance in small end
Standard: 0.003 - 0.014 mm (0.0001 - 0.0005 in.)

Piston pin clearance in piston
Standard: 0.006 - 0.017 mm (0.00024 - 0.00067 in.)

Small-end bore [A] 21.003 - 21.011 mm (0.8269 - 0.8272 in.)

Piston pin diameter [B] 20.997 - 21.000 mm (0.8267 - 0.8268 in.)

Piston bore 21.006 - 21.014 mm (0.8270 - 0.8273 in.)





Piston rings
To measure end gap, insert piston ring (2) into cylinder bore and then measure the gap by using thickness gauge (1). If measured gap is out of specification, replace ring.

NOTE: Clean carbon and any other dirt from top of cylinder bore before inserting piston ring.

Piston ring end gap

Piston Ring End Gap:





Piston rings end gap
"a": 120 mm (4.72 in.)





Connecting rod
^ Big-end side clearance:
Check big-end of connecting rod for side clearance, with rod fitted and connected to its crank pin in the normal manner. If measured clearance is found to exceed its limit, replace connecting rod.

Big-end side clearance

Connecting Rod Side Clearence:




Connecting Rod Side Clearance:





^ Connecting rod alignment:
Mount connecting rod on aligner to check it for bow and twist. If limit is exceeded, replace it.

Limit on bow 0.05 mm (0.0020 in.)

Limit on twist 0.10 mm (0.0039 in.)





Crank pin and connecting rod bearings
^ Inspect crank pin for uneven wear or damage. Measure crank pin for out-of-round or taper with a micrometer. If crank pin is damaged, or out-of round or taper is out of limit, replace crankshaft or regrind crank pin.

Connecting rod bearing and crank pin





Out-of-round "A"-"B"

Taper "a"-"b"

Out-of-round and taper limits 0.01 mm (0.0004 in.)





^ Connecting rod bearing general information:
Inspect bearing shells for signs of fusion, pitting, burn or flaking and observe contact pattern. Bearing shells found in defective condition must be replaced.
Two kinds of connecting rod bearings are available; standard size bearing and 0.25 mm (0.0098 in.) undersize bearing. For identification of undersize bearing, it is painted red (1) at the position as indicated in the figure, undersize bearing thickness is 1.605 - 1.615 mm (0.0632 0.0635 in.) at the center of it.





^ Connecting rod bearing clearance:
a. Before checking bearing clearance, clean bearing and crank pin.
b. Install bearing in connecting rod and bearing cap.
c. Place a piece of gauging plastic (1) to full width of crank pin as contacted by bearing (parallel to crankshaft), avoiding oil hole.





d. Install connecting rod bearing cap (1) as follows.
i. Point arrow mark (2) on cap to crankshaft pulley side.
ii. Apply engine oil to connecting rod bolts (3).
iii. Tighten all connecting rod bolts to 15 Nm (1.5 kgf-m, 11.0 ft. lbs.).
iv. Retighten them by turning through 45°.
v. Repeat step d) once again.

Tightening torque
Connecting rod bolt a: Tighten 15 Nm (1.5 kgf-m, 11.0 ft. lbs.), 45° and 45° by the specified procedure

NOTE: Do not turn crankshaft with gauging plastic installed.





e. Remove connecting rod bearing cap, and using a scale (2) on gauging plastic envelope, measure gauging plastic (1) width at the widest point (clearance). If clearance exceeds its limit, select connecting rod bearing below mentioned item. After selecting new bearing, recheck clearance.

Bearing clearance

Bearing Clearence:








f. If clearance can not be brought to within its limit even by using a new standard size bearing, replace crankshaft or regrind crankpin to undersize as follows.
- Install 0.25 mm undersize bearing to connecting rod big end.
- Measure bore diameter of connecting rod big end.
- Regrind crankpin to the following finished diameter.

Finished Crankpin Diameter = Measured big end bore diameter (including undersize bearing) - 0.054 mm (0.0021 in.)

- Confirm that bearing clearance is within the standard value.

NOTE: After checking the connecting rod bearing clearance, make sure to check for "Connecting rod bolt" under Pistons Piston Rings Connecting Rods and Cylinders Inspection and Cleaning.

^ Selection of connecting rod bearings:

NOTE:
^ If bearing is in malcondition or bearing clearance is out of specification, select a new standard bearing according to the following procedure and install it.
^ When replacing crankshaft or connecting rod and its bearing due to any reason, select new standard bearings to be installed referring to numbers stamped on connecting rod and its cap and/or alphabets stamped on crank web of No. 3 cylinder.

a. Check stamped numbers on connecting rod and its cap as shown.
Three kinds of numbers ("1", "2" and "3") represent the following connecting rod big end inside diameters. For example, stamped number "1" indicates that corresponding connecting rod big-end inside diameter is 53.0000 - 53.0060 mm (2.0867 - 2.0868 in.).

Connecting rod big-end inside diameter











b. Next, check crank pin diameter. On crank web of No. 3 cylinder, four alphabets are stamped as shown in the figure.
Three kinds of alphabet ("A", "B" and "C") represent the following crank pin diameter respectively.
For example, stamped "A" indicates that corresponding crank pin diameter is 49.9940 - 50.0000 mm (1.9683 - 1.9685 in.).

Crank pin diameter











c. There are 5 kinds of standard bearings differing in thickness. To distinguish them, they are painted in the following colors at the position as indicated in the figure. Each color indicated the following thickness at the center of bearing.

Standard size of connecting rod bearing thickness











d. From number stamped on connecting rod and its cap and alphabet stamped on crank web No. 3 cylinder, determine new standard bearing to be installed to connecting rod big-end inside, by referring to the table.
For example, if number stamped on connecting rod and its cap is "1" and alphabet stamped on crank web No. 3 cylinder is "B", install a new standard bearing painted in "Black" to its connecting rod big-end inside.

Specifications of new standard connecting rod bearing size





e. Check bearing clearance with newly selected standard bearing.
If clearance still exceeds its limit, use next thicker bearing and recheck clearance.
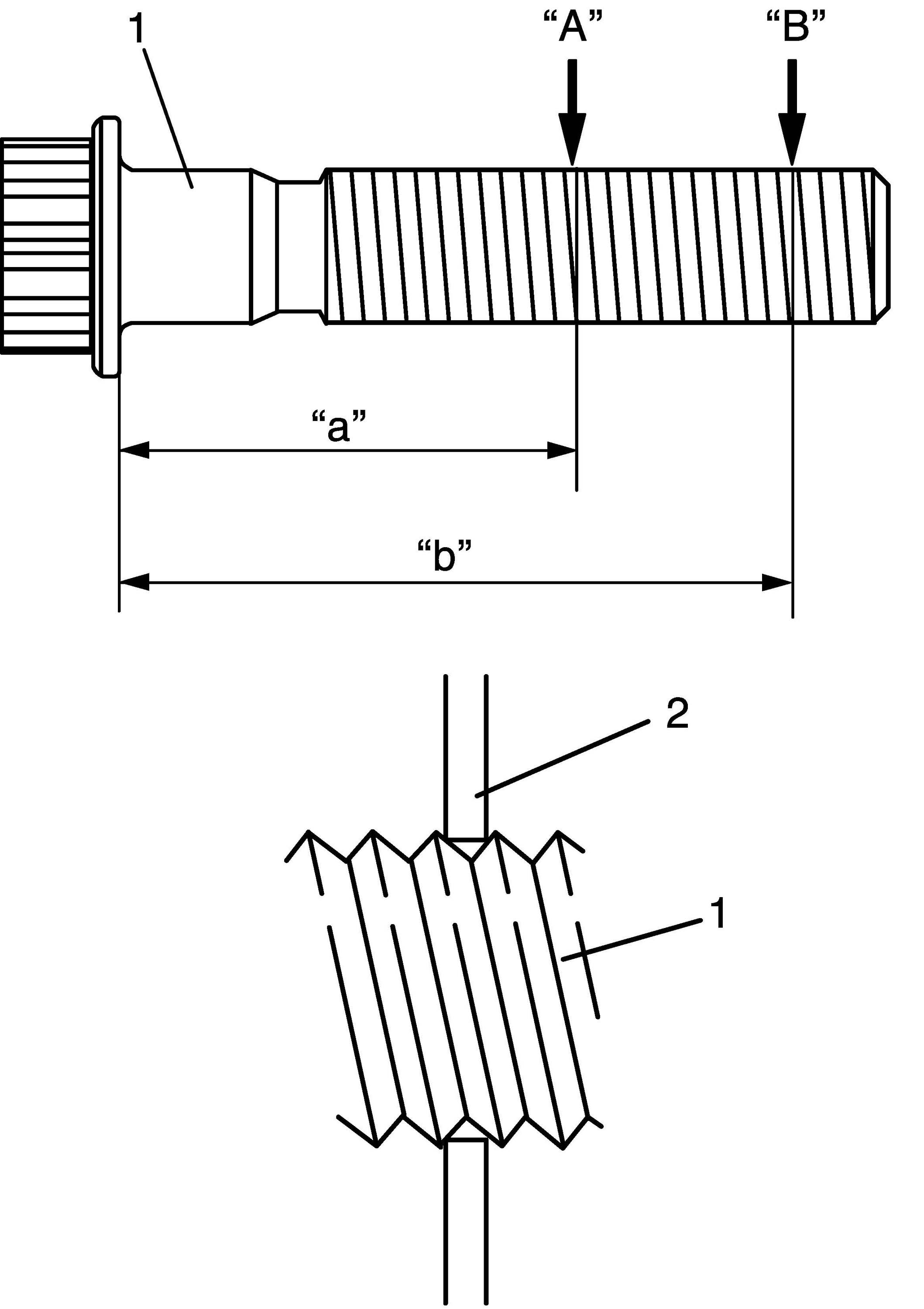
^ Connecting rod bolt
Measure each thread diameter of connecting rod bolts (1) at "A" on 28.5 mm (1.12 in.) from bolt mounting surface and "B" on 42.0 mm (1.65 in.) from bolt mounting surface by using a micrometer (2). Calculate difference in diameters ("A"-"B"). If it exceeds limit, replace connecting rod.

Connecting rod bolt measurement points
"a": 28.5 mm (1.12 in.)
"b": 42.0 mm (1.65 in.)

Connecting rod bolt diameter difference limit ("A"-"B"): 0.1 mm (0.004 in.)





Cleaning
Clean carbon from piston head and ring grooves, using a suitable tool.