Operation CHARM: Car repair manuals for everyone.
Manuals through 2025 now available!

Our trusted friends have launched a new website named LEMON, which has newer manuals. It also contains all the CHARM manuals.

LEMON is the spiritual successor to CHARM, I recommend you try it!

Link: lemon-manuals.la or lemon-manuals.org.ua

(Some people have issue connecting. LEMON is investigating. For now, use Firefox or change your DNS server)

Or, hide this message: temporarily or permanently

Expansion Valve: Service and Repair

Expansion Valve Removal and Installation

Reference: HVAC Unit Components:Manual Type

Removal
1. Recover refrigerant from the A/C system with recovery and recycling equipment referring to "Recovery" in Operation Procedure for Refrigerant Charge:Manual Type.
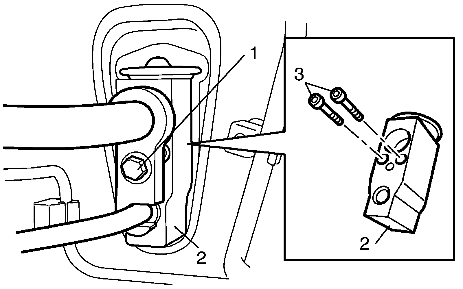
2. Loosen a bolt (1) and remove pipes from expansion valve (2).





3. Loosen bolts (3) and remove expansion valve.

Installation
Reference: Expansion Valve Inspection:Manual Type
Reverse removal procedure noting the following instructions.
^ Apply compressor oil to O-ring of expansion valve and pipes.
^ Tighten expansion valve bolts to specified torque.

Tightening torque
Expansion valve bolt: 4.5 Nm (0.45 kg.m, 3.5 ft. lbs.)

^ Evacuate and charge the A/C system referring to "Evacuation" and "Charge" in Operation Procedure for Refrigerant Charge:Manual Type.