Operation CHARM: Car repair manuals for everyone.
Manuals through 2025 now available!

Our trusted friends have launched a new website named LEMON, which has newer manuals. It also contains all the CHARM manuals.

LEMON is the spiritual successor to CHARM, I recommend you try it!

Link: lemon-manuals.la or lemon-manuals.org.ua

(Some people have issue connecting. LEMON is investigating. For now, use Firefox or change your DNS server)

Or, hide this message: temporarily or permanently

Mass Air Flow (MAF) & Intake Air Temperature (IAT) Sensor On-Vehicle Inspection

Mass Air Flow (MAF) and Intake Air Temperature (IAT)
Sensor On-Vehicle Inspection


NOTE: Before performed this inspection, be sure to read the Precautions of ECM Circuit Inspection.

1. Disconnect MAF and IAT sensor connector.





2. Connect voltmeter to "BLU/RED" wire terminal (2) of MAF and IAT sensor connector (1) disconnected and ground.
3. Turn ON ignition switch and check that voltage is battery voltage.

If not, check if wire harness is open or connection is poor.

4. Turn OFF ignition switch and connect connector to MAF and IAT sensor.
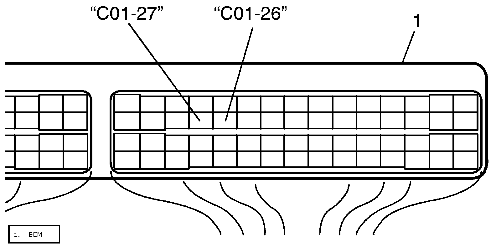
5. Connect special tool between ECM and ECM connector referring to Inspection of ECM and Its Circuits
6. Turn ON ignition switch and check MAF signal voltage between "C01-26" terminal circuit and "C01-27" terminal circuit of special tool.
MAF signal voltage between "C01-26" terminal circuit and "C01-27" terminal circuit of special tool





MAF signal voltage of MAF and IAT sensor with ignition switch turned ON: 0.5 - 1.0 V

7. Start engine and check that voltage is lower than 5 V and it rises as engine speed increases.

MAF signal voltage between "C01-26" terminal circuit and "C01-27" terminal circuit of special tool.

MAF signal reference voltage of MAF and IAT sensor at specified Idle speed: 1.0 - 1.5 V

8. If check result is not as specified above, cause may lie in wire harness, connector connection, MAF and IAT sensor or ECM.