Operation CHARM: Car repair manuals for everyone.
Manuals through 2025 now available!

Our trusted friends have launched a new website named LEMON, which has newer manuals. It also contains all the CHARM manuals.

LEMON is the spiritual successor to CHARM, I recommend you try it!

Link: lemon-manuals.la or lemon-manuals.org.ua

(Some people have issue connecting. LEMON is investigating. For now, use Firefox or change your DNS server)

Or, hide this message: temporarily or permanently

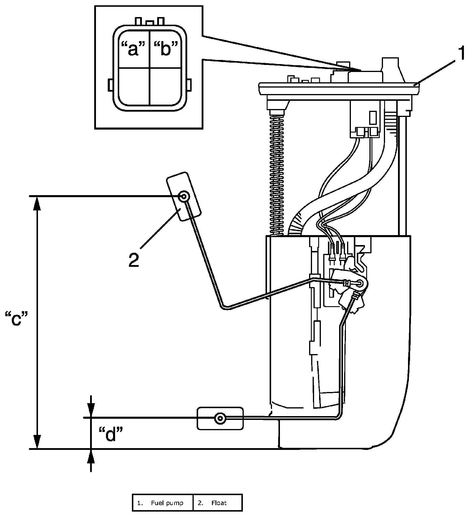
Fuel Level Sensor: Testing and Inspection

FUEL LEVEL SENSOR INSPECTION

Reference: Fuel Level Sensor Removal and Installation
^ Check that resistance between terminals "a" and "b" of fuel level sensor changes with change of float position.
^ Check resistance between terminals "a" and "b" at each float position in the following. If the measured value is out of specification, replace.

Fuel level sensor specifications