Operation CHARM: Car repair manuals for everyone.
Manuals through 2025 now available!

Our trusted friends have launched a new website named LEMON, which has newer manuals. It also contains all the CHARM manuals.

LEMON is the spiritual successor to CHARM, I recommend you try it!

Link: lemon-manuals.la or lemon-manuals.org.ua

(Some people have issue connecting. LEMON is investigating. For now, use Firefox or change your DNS server)

Or, hide this message: temporarily or permanently

Camshaft Position Sensor: Testing and Inspection

Camshaft Position (CMP) Sensor Inspection

Reference: Camshaft Position (CMP) Sensor Removal and Installation

Visual Check




^ Check that O-ring is free from damage.
^ Check that end face of sensor and signal rotor tooth are free from any metal particles and damage.

Performance Check

1. Remove metal particles on end face of CMP sensor, if any.
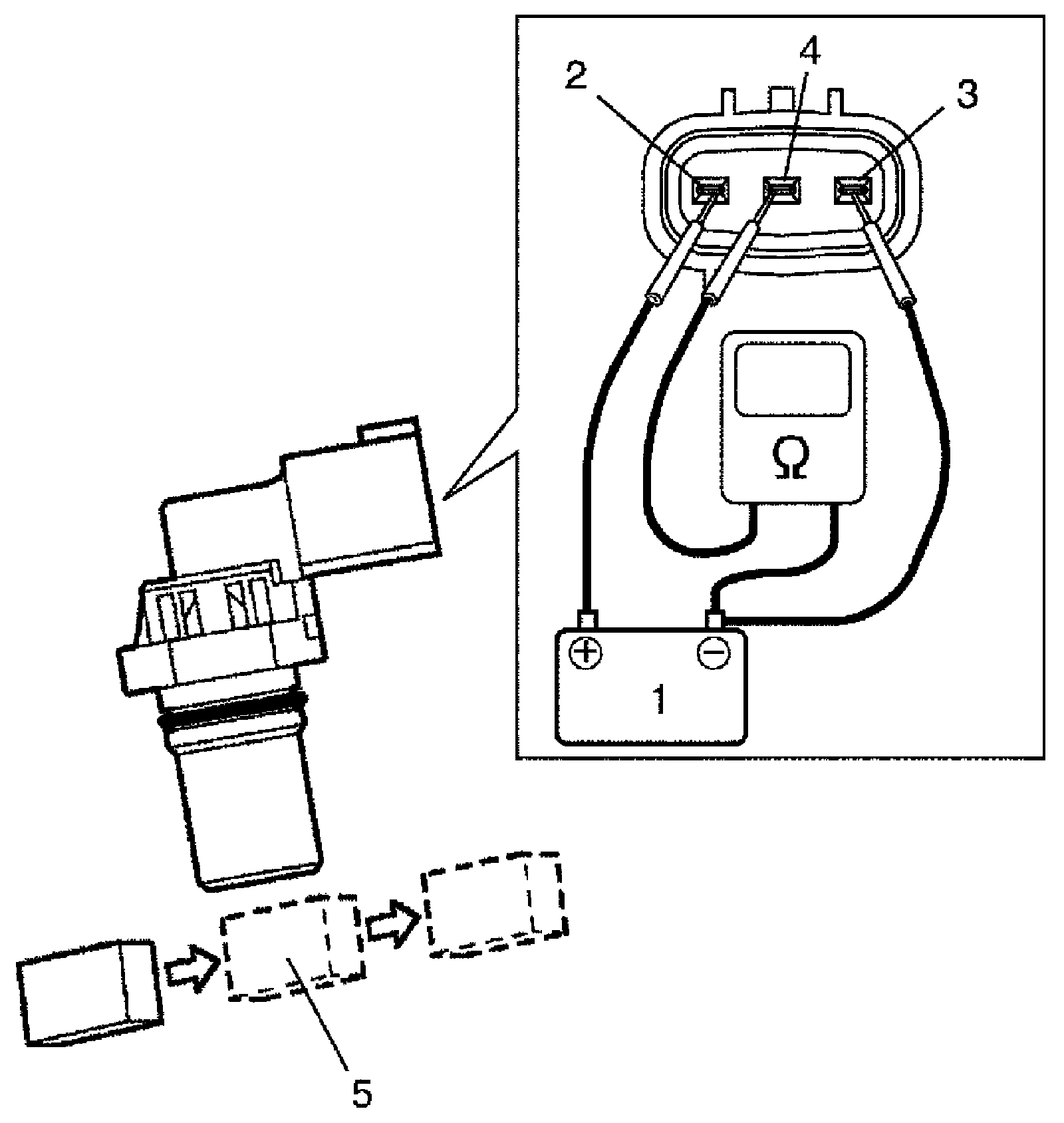
2. Arrange 12 V battery (1) and connect its positive terminal to "Vin" terminal (2) and negative terminal to "Ground" terminal (3) of sensor. Then using ohmmeter, measure resistance between "Vout" terminal (4) of sensor and negative terminal of battery by passing magnetic substance (iron) (5) while keeping approximately 1 mm (0.03 in.) gap with respect to end face of CMP sensor.

If resistance does not vary as specified below, replace CMP sensor.

CMP sensor resistance




Resistance varies from less than 220 ohms (ON) to infinity (OFF) or from infinity (OFF) to less than 220 ohms (ON)